授权公布号:CN210496763U
一种用于马铃薯提取物的原料粉碎装置
有效
申请
2019-08-06
申请公布
1970-01-01
授权
2020-05-12
预估到期
2029-08-06
| 申请号 | CN201921259191.8 |
| 申请日 | 2019-08-06 |
| 授权公布号 | CN210496763U |
| 授权公告日 | 2020-05-12 |
| 分类号 | B02C21/00;B02C18/02;B02C18/04;B02C18/14;B02C18/18;B02C18/24;B02C18/22 |
| 分类 | 破碎、磨粉或粉碎;谷物碾磨的预处理; |
| 申请人名称 | 湖南康琪壹佰生物科技有限公司 |
| 申请人地址 | 湖南省株洲市高新区橡果园长江南路8号 |
专利法律状态
2020-05-12
授权
状态信息
授权
摘要
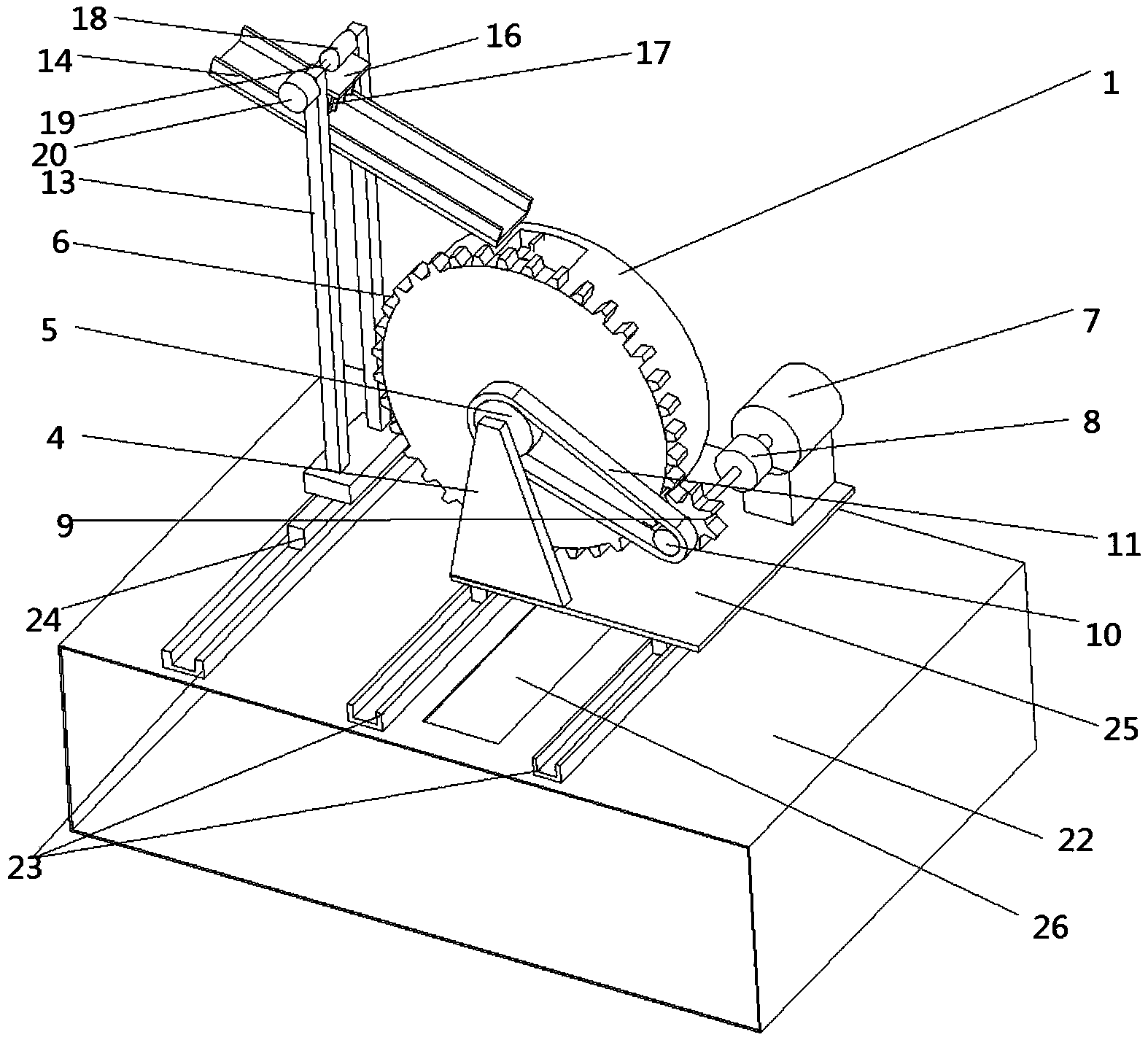
本实用新型公开了一种用于马铃薯提取物的原料粉碎装置,涉及马铃薯原料提取技术领域,解决了现有的原料粉碎装置粉碎效率低的技术问题,包括导料结构、粉碎结构和收集箱,所述导料结构安装在所述收集箱中,所述粉碎结构安装在所述收集箱上,所述导料结构的位于所述粉碎结构的上方;所述粉碎结构包括有圆盘,所述圆盘内置有转动盘,所述转动盘上设置有若干个第一粉碎刀,所述圆盘的内壁设置有若干个第二粉碎刀,所述第一粉碎刀与所述第二粉碎刀啮合,所述圆盘与所述转动盘通过支撑架同轴转动连接,所述支撑架安装在所述收集箱上,提高了马铃薯的粉碎效率。


