授权公布号:CN212994201U
一种食用菌润喉糖挤出成型设备
有效
申请
2020-08-03
申请公布
1970-01-01
授权
2021-04-20
预估到期
2030-08-03
| 申请号 | CN202021580562.5 |
| 申请日 | 2020-08-03 |
| 授权公布号 | CN212994201U |
| 授权公告日 | 2021-04-20 |
| 分类号 | A23G3/02 |
| 分类 | 其他类不包含的食品或食料;及其处理; |
| 申请人名称 | 湖南康琪壹佰生物科技有限公司 |
| 申请人地址 | 湖南省株洲市高新区橡果园长江南路8号 |
专利法律状态
2021-04-20
授权
状态信息
授权
摘要
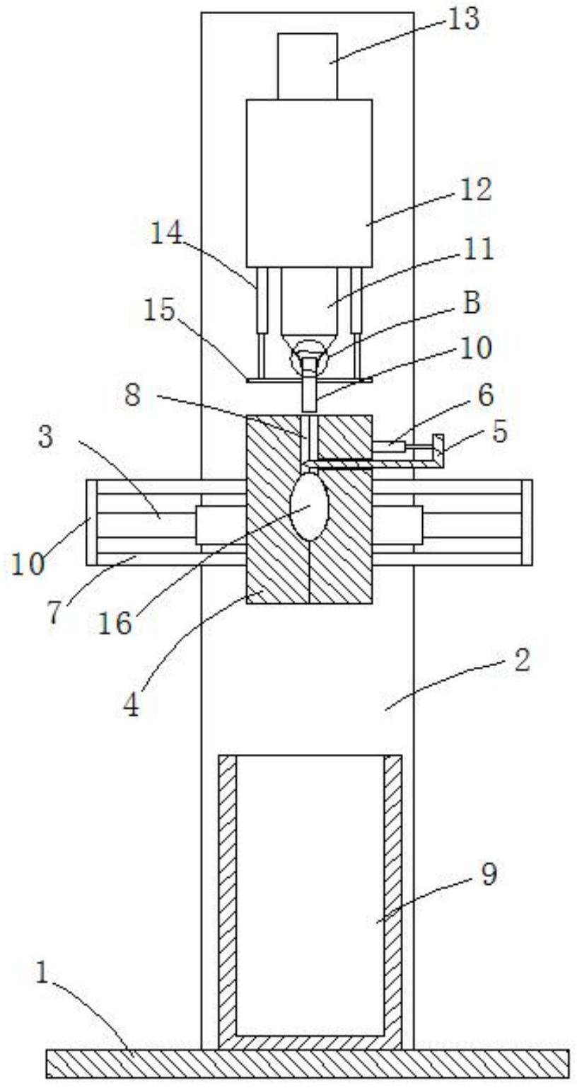
本实用新型公开了一种食用菌润喉糖挤出成型设备,包括底板、立板、储料罐以及成型组件,所述底板的顶面对称固定两块所述立板,底板上设置用于储存润喉糖的储存盒,所述储料罐用于储存原料,其固定在两块立板之间的顶部,储料罐顶部安装液压缸,液压缸的伸缩端伸入储料罐内、并用于对原料加压,储料罐的底部设置出料管,储料罐的底部还设有与出料管连通的注入管,储料罐的外侧设置驱动机构、以用于驱动注入管升降,所述成型组件包括两块对称设置的模具,两个模具拼接接触,以形成型腔以及与所述型腔连通的连通孔,所述连通孔的进料端口与注入管的底端连通。本实用新型结构简单,方便操作,能够快速挤压成型成润喉糖。


