授权公布号:CN218390751U
一种压滤式冲泡装置
有效
申请
2022-02-25
申请公布
1970-01-01
授权
2023-01-31
预估到期
2032-02-25
| 申请号 | CN202220394567.1 |
| 申请日 | 2022-02-25 |
| 授权公布号 | CN218390751U |
| 授权公告日 | 2023-01-31 |
| 分类号 | A47J31/00;A47J31/44 |
| 分类 | 家具;家庭用的物品或设备;咖啡磨;香料磨;一般吸尘器; |
| 申请人名称 | 广州市拓璞电器发展有限公司 |
| 申请人地址 | 广东省广州市花都区花东镇北兴大道19号 |
专利法律状态
2023-01-31
授权
状态信息
授权
摘要
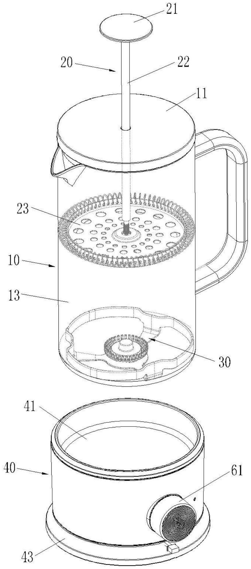
本实用新型提供一种压滤式冲泡装置,包括设有冲泡腔的冲泡容器、压滤组件和基座,所述冲泡容器包括壶体和壶盖,所述壶体底部设有搅拌装置,所述基座内设有磁力驱动所述搅拌装置转动的驱动装置和主控电路板,所述搅拌装置包括支架和搅拌器,所述支架包括设置在中部的支撑部、由所述支撑部向外延伸形成的至少两个呈周向布置的连接臂以及连接在所述连接臂上的支撑环,所述支撑部呈片状且活动抵接所述壶体的底部,所述搅拌器活动定位在所述支撑部上,所述支撑环周向上设有若干个呈突出状的弹性端,所述弹性端活动抵接所述壶体的侧壁。本实用新型的压滤式冲泡装置,其搅拌装置容易定位,工作时稳定性好,便于安装和取出清洗。


