授权公布号:CN219354617U
一种具有热敷功能的筋膜枪
有效
申请
2022-10-25
申请公布
1970-01-01
授权
2023-07-18
预估到期
2032-10-25
| 申请号 | CN202222810834.1 |
| 申请日 | 2022-10-25 |
| 授权公布号 | CN219354617U |
| 授权公告日 | 2023-07-18 |
| 分类号 | A61H23/02;A61F7/00 |
| 分类 | 医学或兽医学;卫生学; |
| 申请人名称 | 广州市拓璞电器发展有限公司 |
| 申请人地址 | 广东省广州市花都区花东镇北兴大道19号 |
专利法律状态
2023-07-18
授权
状态信息
授权
摘要
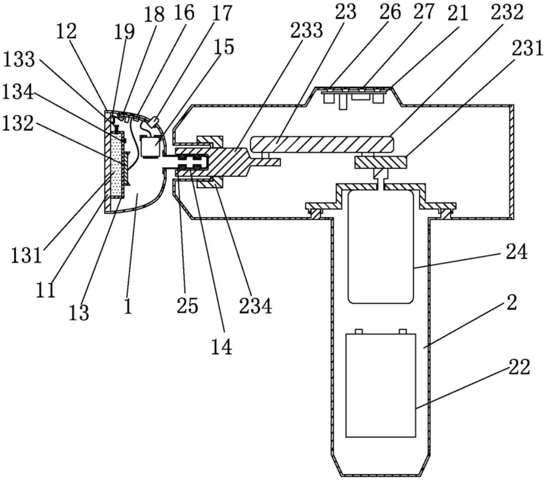
本实用新型提供一种具有热敷功能的筋膜枪,包括热敷头和基座,所述基座内设有第一PCB电路板、第一电池模块、传动组件和马达,所述基座上设有插槽,所述热敷头可拆卸安装在所述插槽内,且所述马达通过所述传动组件与所述热敷头活动连接,其特征在于,所述热敷头包括设置在前端的导热板、连接件和设置在尾端的插销,所述导热板连接有容置腔,所述容置腔内设有导热介质,所述容置腔上设有加热元件,所述加热元件通过所述导热介质加热所述导热板。本实用新型的具有热敷功能的筋膜枪,既有振动按摩功能,又有热敷功能,而且热敷时温度变化小、温度均匀,舒适感强。


