授权公布号:CN219103339U
一种换热器结构和热水器
有效
申请
2022-12-26
申请公布
1970-01-01
授权
2023-05-30
预估到期
2032-12-26
| 申请号 | CN202223506744.X |
| 申请日 | 2022-12-26 |
| 授权公布号 | CN219103339U |
| 授权公告日 | 2023-05-30 |
| 分类号 | F24H9/00;F24H4/04 |
| 分类 | 供热;炉灶;通风; |
| 申请人名称 | 广东芬尼科技股份有限公司 |
| 申请人地址 | 广东省广州市南沙区涌岭路6号自编2栋一楼之2 |
专利法律状态
2023-05-30
授权
状态信息
授权
摘要
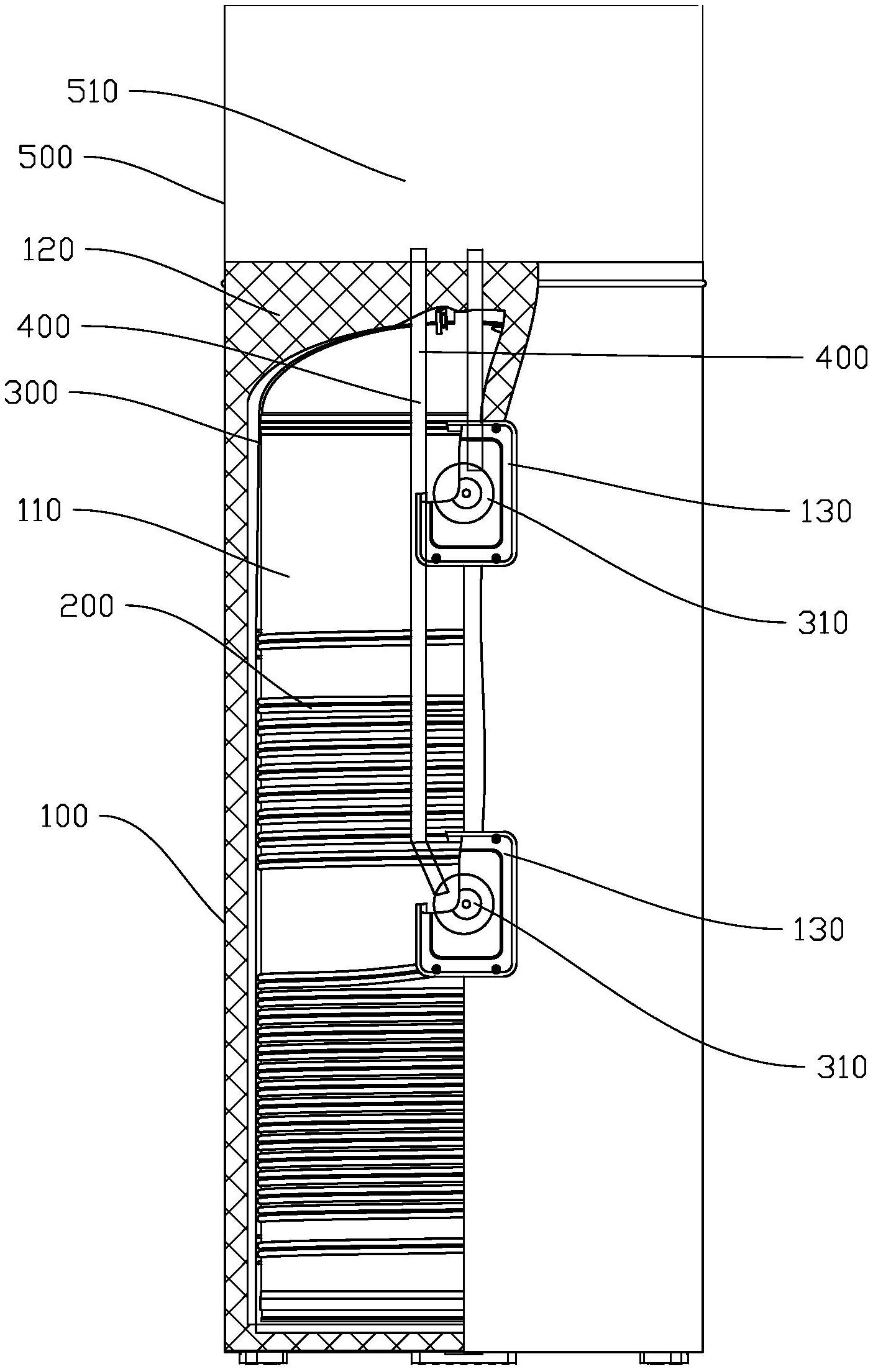
本实用新型公开了一种换热器结构和热水器,该换热器结构包括壳体和设在所述壳体内部的内胆,所述内胆的外周绕设有冷凝器,所述冷凝器的外周设有用于防止制冷剂外泄的密封层,所述密封层与所述冷凝器之间形成用于引导泄漏的制冷剂流通的通道,所述密封层的端部逐渐变窄形成与通道相连通的导出部,所述导出部延伸至所述壳体的外部,所述导出部在所述壳体的外部设有用于导出泄漏制冷剂的引流孔,该换热器结构能够保证在换热器发生制冷剂泄漏的情况下,将制冷剂集中收集在一起并有目的的导出至室外等指定位置,避免制冷剂的随意泄漏,达到避免起火或爆炸的目的。


