授权公布号:CN215735214U
一种盖体的过线结构
有效
申请
2021-08-02
申请公布
1970-01-01
授权
2022-02-01
预估到期
2031-08-02
| 申请号 | CN202121788177.4 |
| 申请日 | 2021-08-02 |
| 授权公布号 | CN215735214U |
| 授权公告日 | 2022-02-01 |
| 分类号 | H05K5/02;H05K5/03 |
| 分类 | 其他类目不包含的电技术; |
| 申请人名称 | 广东芬尼科技股份有限公司 |
| 申请人地址 | 广东省广州市南沙区涌岭路6号自编2栋一楼之2 |
专利法律状态
2022-02-01
授权
状态信息
授权
摘要
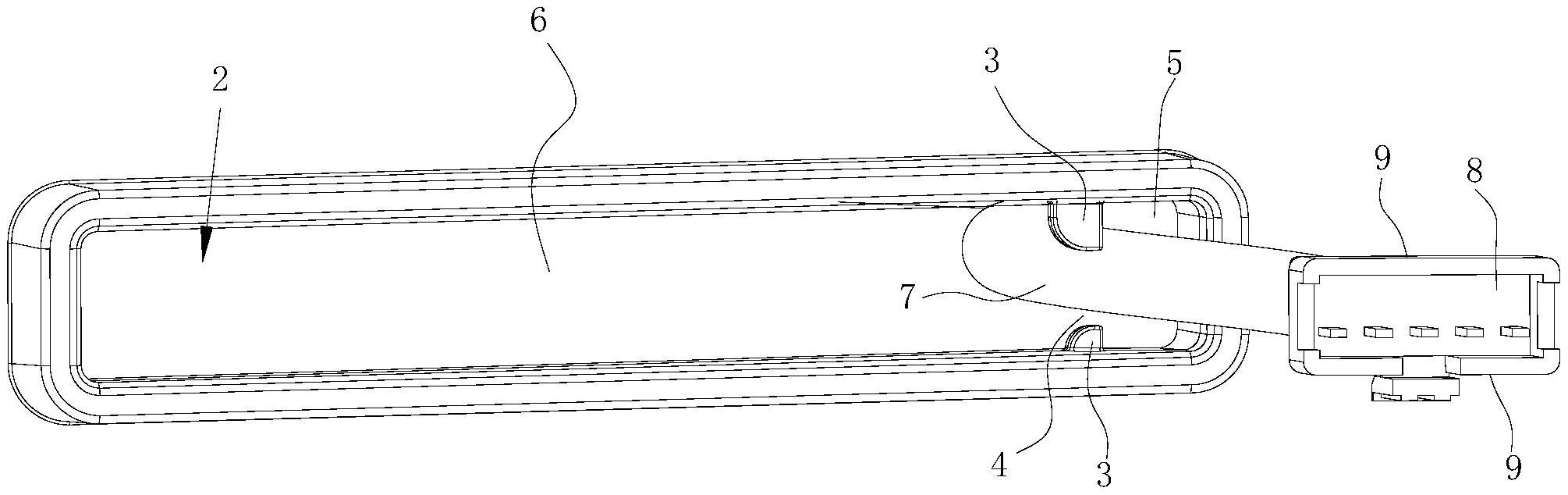
本实用新型公开了一种盖体的过线结构,包括盖本体以及引出线,盖本体上设有用于引出线穿过的过线槽孔,过线槽孔为通孔,过线槽孔的孔壁上固设有至少一个凸起阻挡结构,凸起阻挡结构将过线槽孔分隔成包括开口区结构以及第一容纳区结构,线体经过开口区结构移动至第一容纳区结构内,第一容纳区结构各处的距离长度均小于端子的长边的长度。通过设置过线槽孔,引出线穿过过线槽孔,在过线槽孔的孔壁上设置凸起阻挡结构,引出线的线体经过开口区结构移动至第一容纳区结构内,第一容纳区结构中各处的距离长度均小于端子的长边的长度,实现了阻挡端子,防止端子掉落出过线槽孔的效果,使盖体更加美观的同时降低了制造成本。


