授权公布号:CN215571281U
一种防水塞以及电器盖
有效
申请
2021-07-15
申请公布
1970-01-01
授权
2022-01-18
预估到期
2031-07-15
| 申请号 | CN202121618257.5 |
| 申请日 | 2021-07-15 |
| 授权公布号 | CN215571281U |
| 授权公告日 | 2022-01-18 |
| 分类号 | F24H9/00;F24H9/20;B65D51/14 |
| 分类 | 供热;炉灶;通风; |
| 申请人名称 | 广东芬尼科技股份有限公司 |
| 申请人地址 | 广东省广州市南沙区涌岭路6号自编2栋一楼之2 |
专利法律状态
2022-01-18
授权
状态信息
授权
摘要
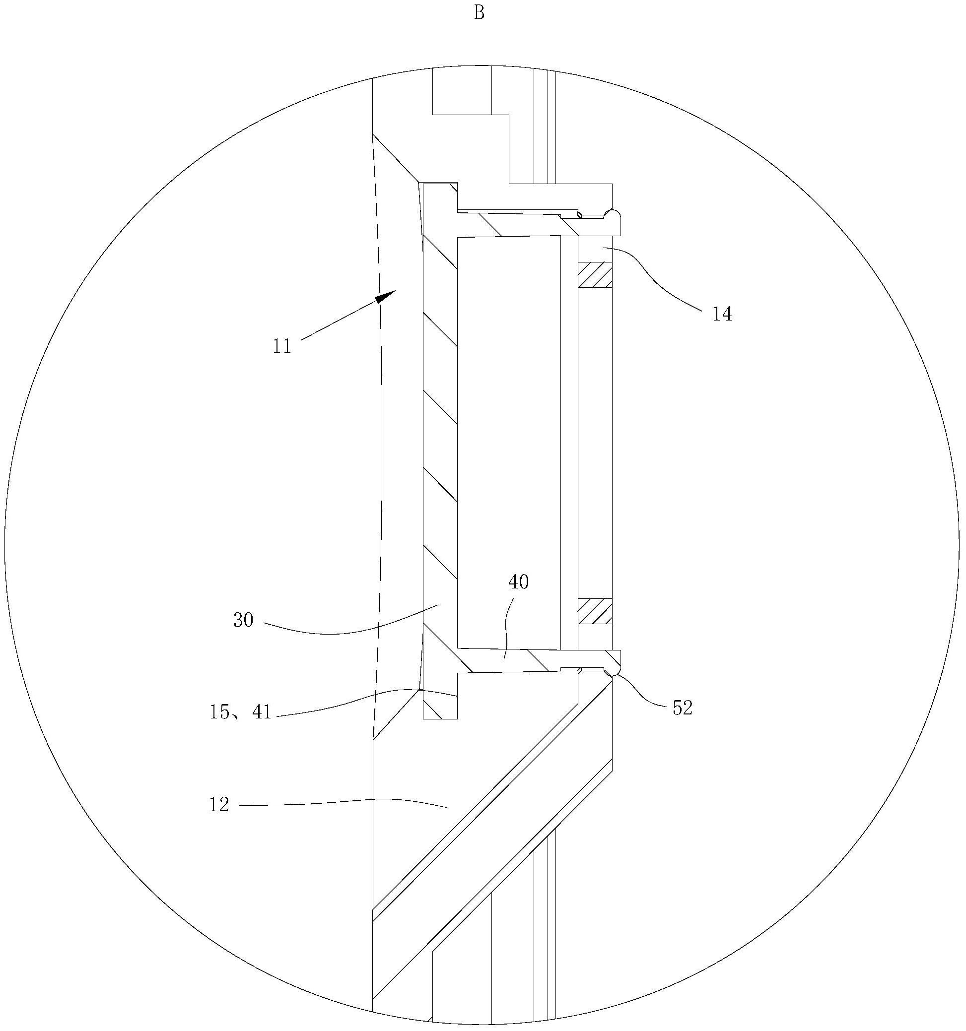
本实用新型公开了一种防水塞以及电器盖,包括盖本体和防水塞,盖本体设有安装结构,安装结构包括排水槽以及容纳孔,排水槽与容纳孔连通,沿容纳孔的轴向依次设有的第二限位面和卡孔结构,防水塞包括盖结构、支撑结构以及卡接结构,卡接结构设为两个且沿支撑结构的径向对称布设,盖结构的径向设有扣手结构,沿支撑结构的轴向,扣手结构指向其中一个卡接结构设置,防水塞具有第一限位面,第一限位面为盖结构与支撑结构相接的平面。防水塞通过安装结构可拆卸地安装在盖本体上,卡接结构与卡孔结构卡接,通过设置扣手结构安装后位于排水槽中,实现了直接用手即可将其取下防水塞的效果。具有防水、方便、快捷、结构简单、易于操作等优点。


