授权公布号:CN219248012U
一种桌面型录音麦克风
有效
申请
2022-12-29
申请公布
1970-01-01
授权
2023-06-23
预估到期
2032-12-29
| 申请号 | CN202223588388.0 |
| 申请日 | 2022-12-29 |
| 授权公布号 | CN219248012U |
| 授权公告日 | 2023-06-23 |
| 分类号 | H04R1/08 |
| 分类 | 电通信技术; |
| 申请人名称 | 宁波市鄞州声科电子有限公司 |
| 申请人地址 | 浙江省宁波市鄞州区云龙镇荻江村宁波市鄞州声科电子有限公司 |
专利法律状态
2023-06-23
授权
状态信息
授权
摘要
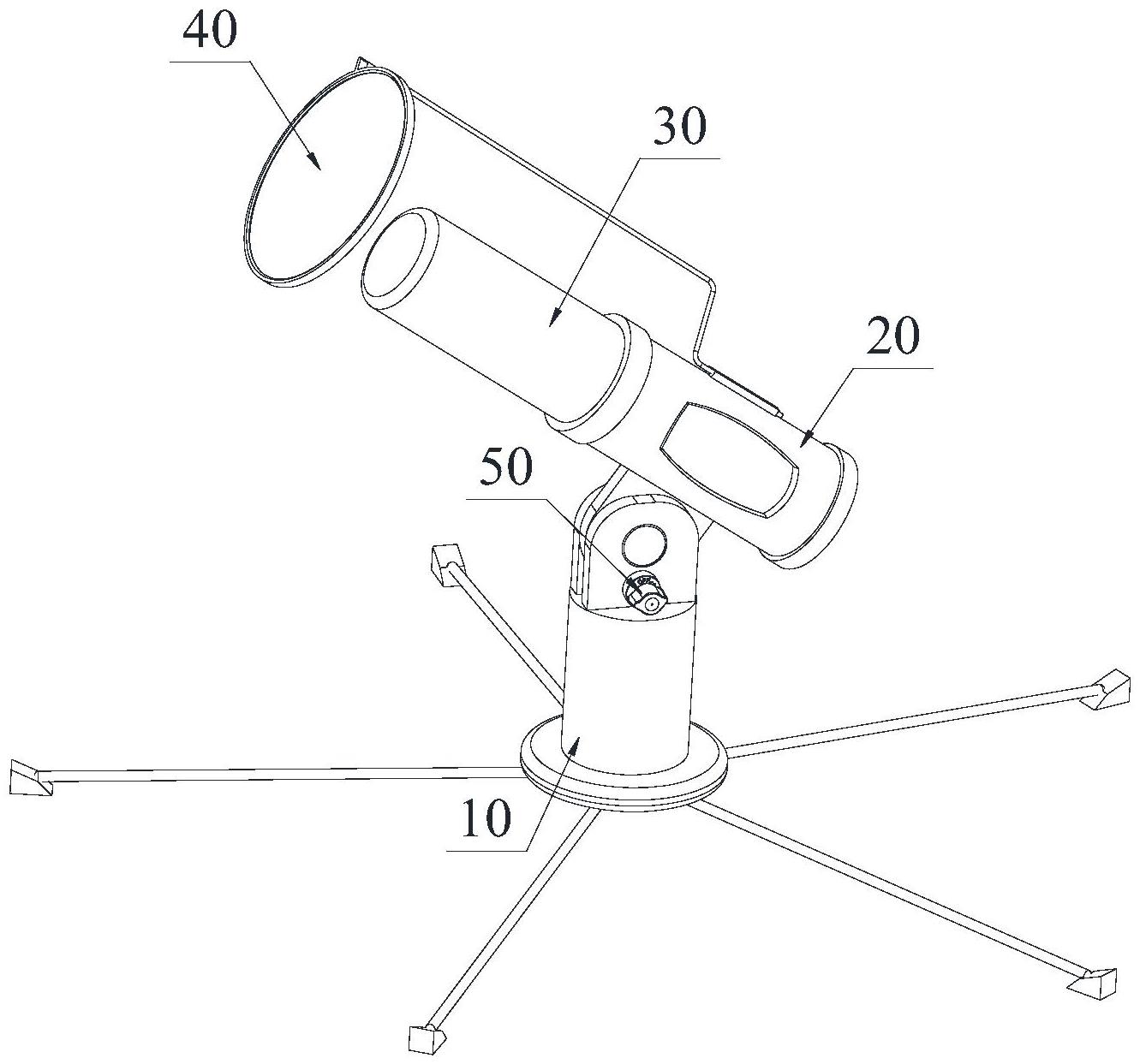
本实用新型公开了一种桌面型录音麦克风,包括支架、固定套、麦克风和防喷罩,麦克风插装在固定套内,防喷罩设置在固定套上,所述支架的顶端设有开口槽,所述固定套包括套体和设置在所述套体的外侧面上的连接板,所述连接板上多个定位孔,所述连接板插入到所述开口槽内铰接连接;所述开口槽的侧壁外表面上设有锁紧旋钮,所述锁紧旋钮具有一个可伸缩的插销,转动所述锁紧旋钮可以使所述插销伸出或缩回,插入所述定位孔或者从所述定位孔中缩回。本实用新型,通过转动锁紧旋钮使插销插入定位孔或者从定位孔中缩回,调整麦克风的角度更方便,并且由于锁紧旋钮上的插销插入在定位孔中,因此,麦克风的角度不会在使用过程中因重力而产生变化。


