授权公布号:CN216375078U
一种全自动立式包装机
有效
申请
2021-10-19
申请公布
1970-01-01
授权
2022-04-26
预估到期
2031-10-19
| 申请号 | CN202122517513.8 |
| 申请日 | 2021-10-19 |
| 授权公布号 | CN216375078U |
| 授权公告日 | 2022-04-26 |
| 分类号 | B65B1/30;B65B57/12;B65B51/16;B65B61/06;B65B41/12 |
| 分类 | 输送;包装;贮存;搬运薄的或细丝状材料; |
| 申请人名称 | 厦门舒菲娅化妆品有限公司 |
| 申请人地址 | 福建省厦门市同安区美溪道思明工业园38号302单元 |
专利法律状态
2022-04-26
授权
状态信息
授权
摘要
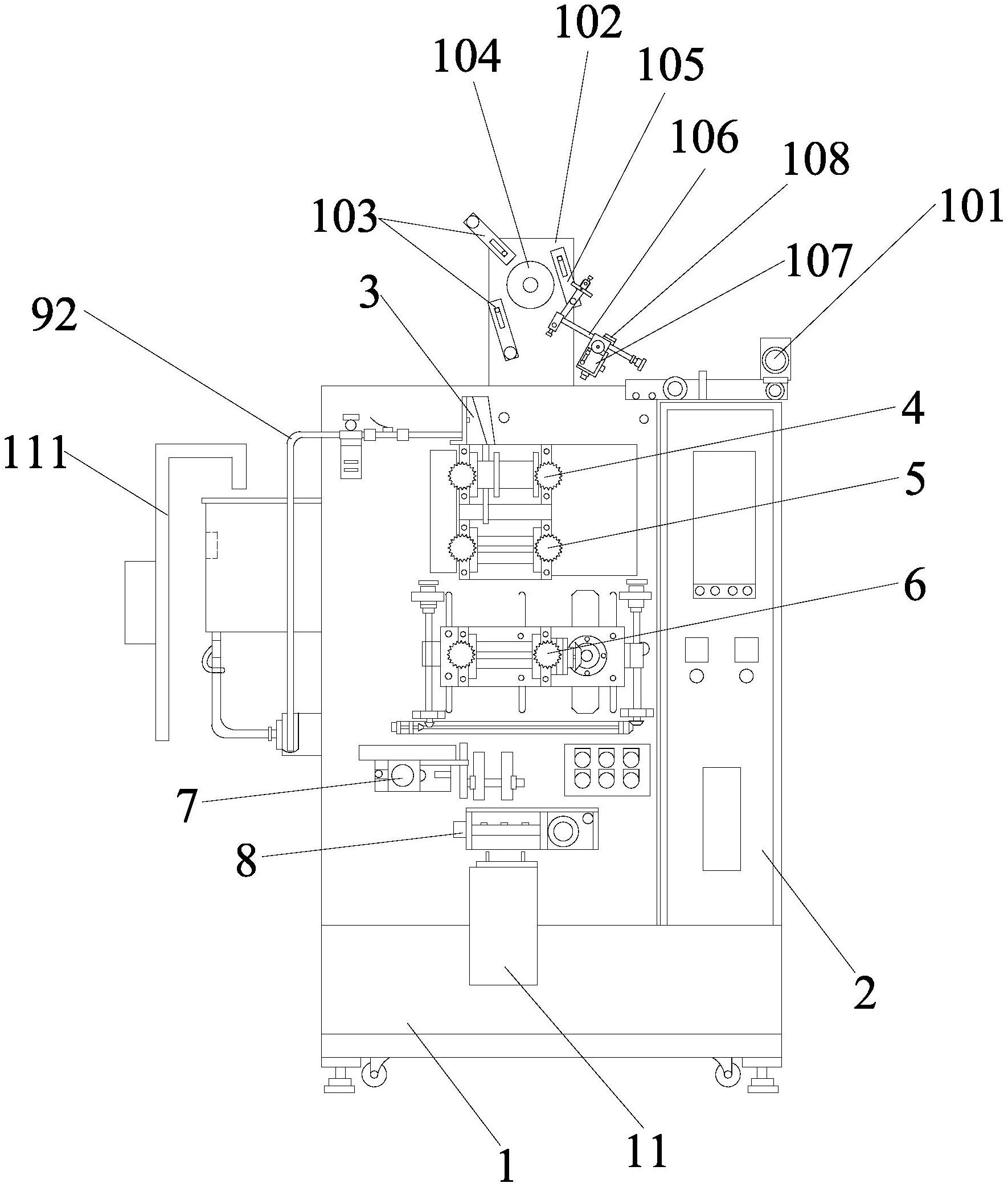
本实用新型公开一种全自动立式包装机,包括机架以及安装在所述机架上的电控箱、供料装置、送膜装置、成型器、纵向热封辊筒、横向热封辊筒、横向冷封辊筒、切易撕口装置、切割装置和自动给料装置,所述供料装置包括储料桶和输料管,所述储料桶的内壁上设置有位移传感器,所述自动给料装置包括送料提升机和送料仓,所述送料提升机的进料口与所述送料仓连通,所述送料提升机的出料口位于所述储料桶的上方。本实用新型一种全自动立式包装机,能够实现自动补料,且自动化程度高。


