授权公布号:CN208947664U
一种用于软管灌装封尾机的杯座夹具
有效
申请
2018-09-30
申请公布
1970-01-01
授权
2019-06-07
预估到期
2028-09-30
| 申请号 | CN201821621221.0 |
| 申请日 | 2018-09-30 |
| 授权公布号 | CN208947664U |
| 授权公告日 | 2019-06-07 |
| 分类号 | B65B7/14 |
| 分类 | 输送;包装;贮存;搬运薄的或细丝状材料; |
| 申请人名称 | 厦门舒菲娅化妆品有限公司 |
| 申请人地址 | 福建省厦门市同安区美溪道思明工业园38号302单元 |
专利法律状态
2019-06-07
授权
状态信息
授权
摘要
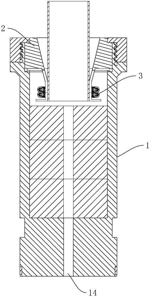
本实用新型公开了一种用于软管灌装封尾机的杯座夹具,属于软管类产品加工机械领域,其技术方案要点包括杯座壳体、软管夹持块和环形双拉簧,所述软管夹持块设置在所述杯座壳体内,所述软管夹持块上设置有与所述杯座壳体内部连通的夹持孔,所述环形双拉簧设置在所述软管夹持块的外侧,所述杯座壳体内于所述软管夹持块的下方设置有至少一个软管垫块,所述杯座壳体内最上侧的软管垫块与所述软管夹持块之间具有缓冲间隙,本实用新型能够提高封尾位置的准确性,节省生产成本。


