授权公布号:CN204721034U
一种多功能汽车应急启动电源
有效
申请
2015-05-29
申请公布
1970-01-01
授权
2015-10-21
预估到期
2025-05-29
| 申请号 | CN201520371507.8 |
| 申请日 | 2015-05-29 |
| 授权公布号 | CN204721034U |
| 授权公告日 | 2015-10-21 |
| 分类号 | H02J7/00 |
| 分类 | 发电、变电或配电; |
| 申请人名称 | 深圳市昂佳科技有限公司 |
| 申请人地址 | 广东省深圳市龙华区民治街道展滔科技大厦A座1307室 |
专利法律状态
2015-10-21
授权
状态信息
授权
摘要
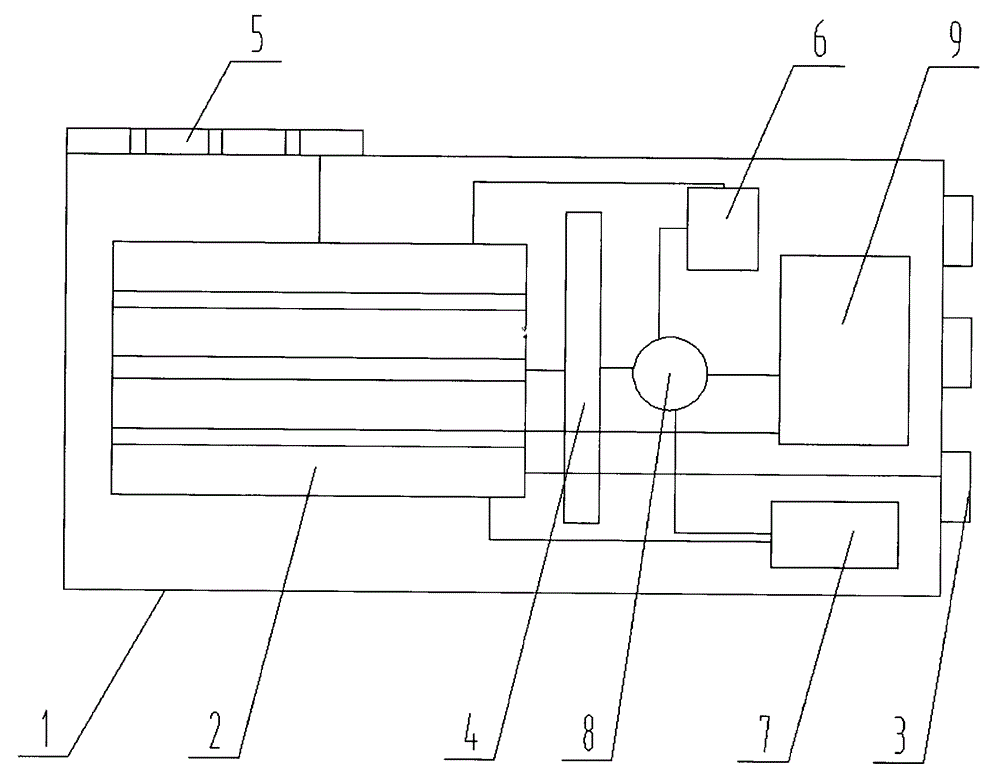
一种多功能汽车应急启动电源,涉及汽车应急启动电源技术领域,它还有辅助多功能应急系统,辅助多功能应急系统包括GPS定位模块(6)、无线信号收发模块(7)、微型处理器(8)和显示屏(9),GPS定位模块(6)、无线信号收发模块(7)、微型处理器(8)和显示屏(9)分别安装在壳体(1)上,电池组(2)通过变压电路板(4)分别给GPS定位模块(6)、无线信号收发模块(7)、微型处理器(8)和显示屏(9)供电;本实用新型的推广,能够提供一种带有具备应对野外汽车抛锚等特殊情况的多功能汽车应急启动电源,具有卫星定位和无线通讯的功能,使用便捷,可靠性好,具有很好的市场推广价值。


