授权公布号:CN207803775U
一种牙间刷自动插刷毛装置
有效
申请
2017-12-28
申请公布
1970-01-01
授权
2018-09-04
预估到期
2027-12-28
| 申请号 | CN201721925647.0 |
| 申请日 | 2017-12-28 |
| 授权公布号 | CN207803775U |
| 授权公告日 | 2018-09-04 |
| 分类号 | A46D3/04 |
| 分类 | 刷类制品; |
| 申请人名称 | 东莞达谆实业有限公司 |
| 申请人地址 | 广东省东莞市常平镇桥沥南门工业区 |
专利法律状态
2018-09-04
授权
状态信息
授权
摘要
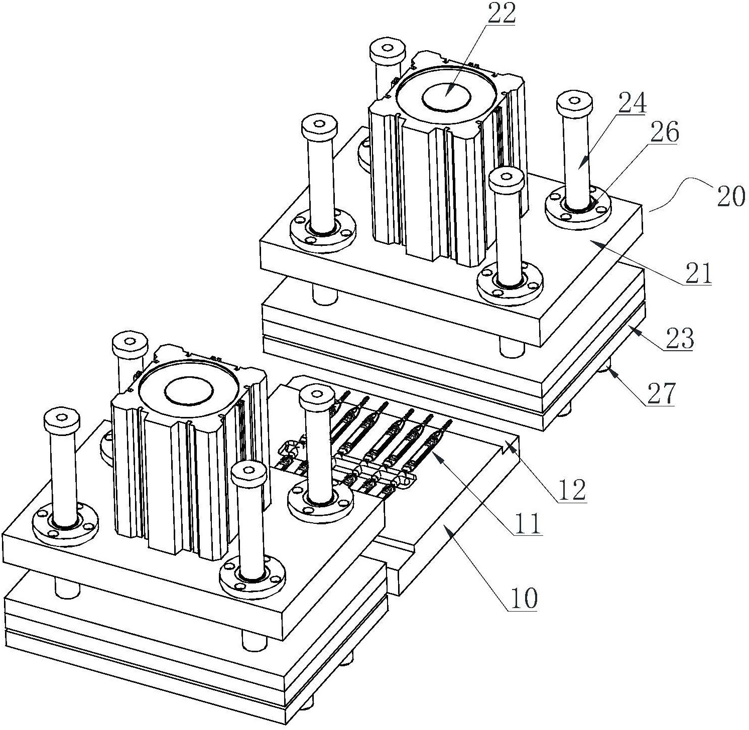
一种牙间刷自动插刷毛装置,包括牙间刷定位模具和插接装置,所述牙间刷定位模具为矩形块状,其上表面设有等间距布置的定位凹槽,所述定位凹槽形状与牙间刷形状相同,牙间刷安装在定位凹槽中,牙间刷头部位于定位凹槽两端,插接装置位于牙间刷定位模具外部两侧,且分别位于牙间刷头部外侧,所述插接装置包括上托板、气缸、下托板、伸缩杆和吸盘,所述上托板为矩形板,气缸安装在上托板上表面中心,上托板四周设有导向孔,伸缩杆与导向孔配合,下托板平行位于上托板下方,伸缩杆底端与下托板上方连接,下托板底部安装有等间距行排列的吸盘,可同步完成多组牙间刷的插刷毛工序,省时省力,大大提高了牙间刷的插刷毛效率。


