授权公布号:CN207618117U
一种饼干包装机用插角装置
有效
申请
2017-11-27
申请公布
1970-01-01
授权
2018-07-17
预估到期
2027-11-27
| 申请号 | CN201721603262.2 |
| 申请日 | 2017-11-27 |
| 授权公布号 | CN207618117U |
| 授权公告日 | 2018-07-17 |
| 分类号 | B65B61/00 |
| 分类 | 输送;包装;贮存;搬运薄的或细丝状材料; |
| 申请人名称 | 青岛食品股份有限公司 |
| 申请人地址 | 山东省青岛市李沧区四流中支路2号 |
专利法律状态
2018-07-17
授权
状态信息
授权
摘要
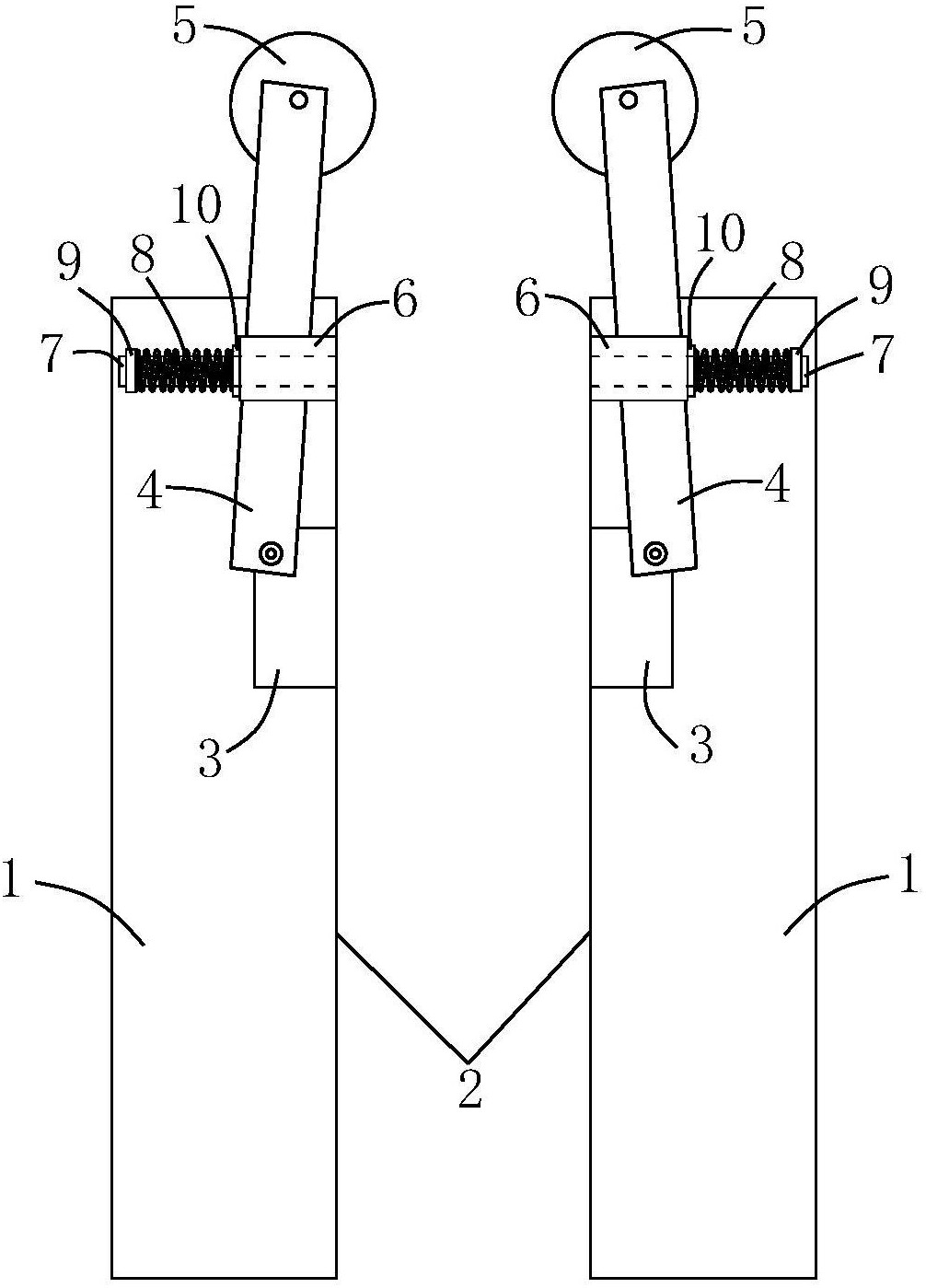
本实用新型提供了一种饼干包装机用插角装置,包括两个相对设置的料道组件,料道组件包括水平设置的料道底板和垂直连接在料道底板侧边上的料道竖板,料道竖板的内侧面上设置有插角组件;插角组件包括固定在料道竖板内侧面的固定块,固定块的前部倾斜地铰连接有摆动件,摆动件的中部连接有弹性复位结构,摆动件的前部连接有插角轮;摆动件能在弹性复位结构上摆动并压缩弹簧。利用插角组件上的插角轮将原本外伸的包装袋的边角向内“插折”,使得包装袋边角不外伸,包装袋整体形状呈规则的长方体,在包装袋后续装盒时更加容易,且占用盒内空间小。


