授权公布号:CN214067900U
一种配合手机识别的AI收银机
有效
申请
2020-12-10
申请公布
1970-01-01
授权
2021-08-27
预估到期
2030-12-10
| 申请号 | CN202022941207.2 |
| 申请日 | 2020-12-10 |
| 授权公布号 | CN214067900U |
| 授权公告日 | 2021-08-27 |
| 分类号 | G07G1/12;G07G1/00;G07G1/06;G06K9/00;H04M1/72403 |
| 分类 | 核算装置; |
| 申请人名称 | 广州市晶密电子有限公司 |
| 申请人地址 | 广东省广州市花都区新雅街迎春路马来西亚工业园自编3栋三、四层 |
专利法律状态
2021-08-27
授权
状态信息
授权
摘要
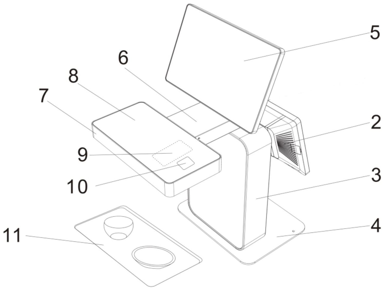
本实用新型公开了一种配合手机识别的AI收银机,涉及AI收银领域,包括底板,所述底板的上表面固定连接有主支架,所述主支架顶端的一侧通过安装支架固定连接有扫描台,所述扫描台的顶端开设有贯穿其底端的手机槽,所述手机槽的内壁间卡接有手机,所述扫描台的上表面位于手机槽的一侧分别固定连接有刷卡器、二维码扫描器,所述扫描台的上表面设置有玻璃盖板,所述主支架的内部固定连接有主板,所述主板分别与刷卡器、二维码扫描器电连接,所述手机与主板通过无线网络连接。该配合手机识别的AI收银机,实现了在不需要额外添加摄像头的同时对菜品进行扫描拍摄。


