授权公布号:CN217417095U
一种输送装置及输送设备
有效
申请
2022-01-13
申请公布
1970-01-01
授权
2022-09-13
预估到期
2032-01-13
| 申请号 | CN202220087698.5 |
| 申请日 | 2022-01-13 |
| 授权公布号 | CN217417095U |
| 授权公告日 | 2022-09-13 |
| 分类号 | B65G23/44;B65G15/20;B65G15/32;B65G41/00;B41J3/407;B41J2/01 |
| 分类 | 输送;包装;贮存;搬运薄的或细丝状材料; |
| 申请人名称 | 河北养元智汇饮品股份有限公司 |
| 申请人地址 | 河北省衡水市衡水经济开发区北区新区六路南、滏阳四路以西 |
专利法律状态
2022-09-13
授权
状态信息
授权
摘要
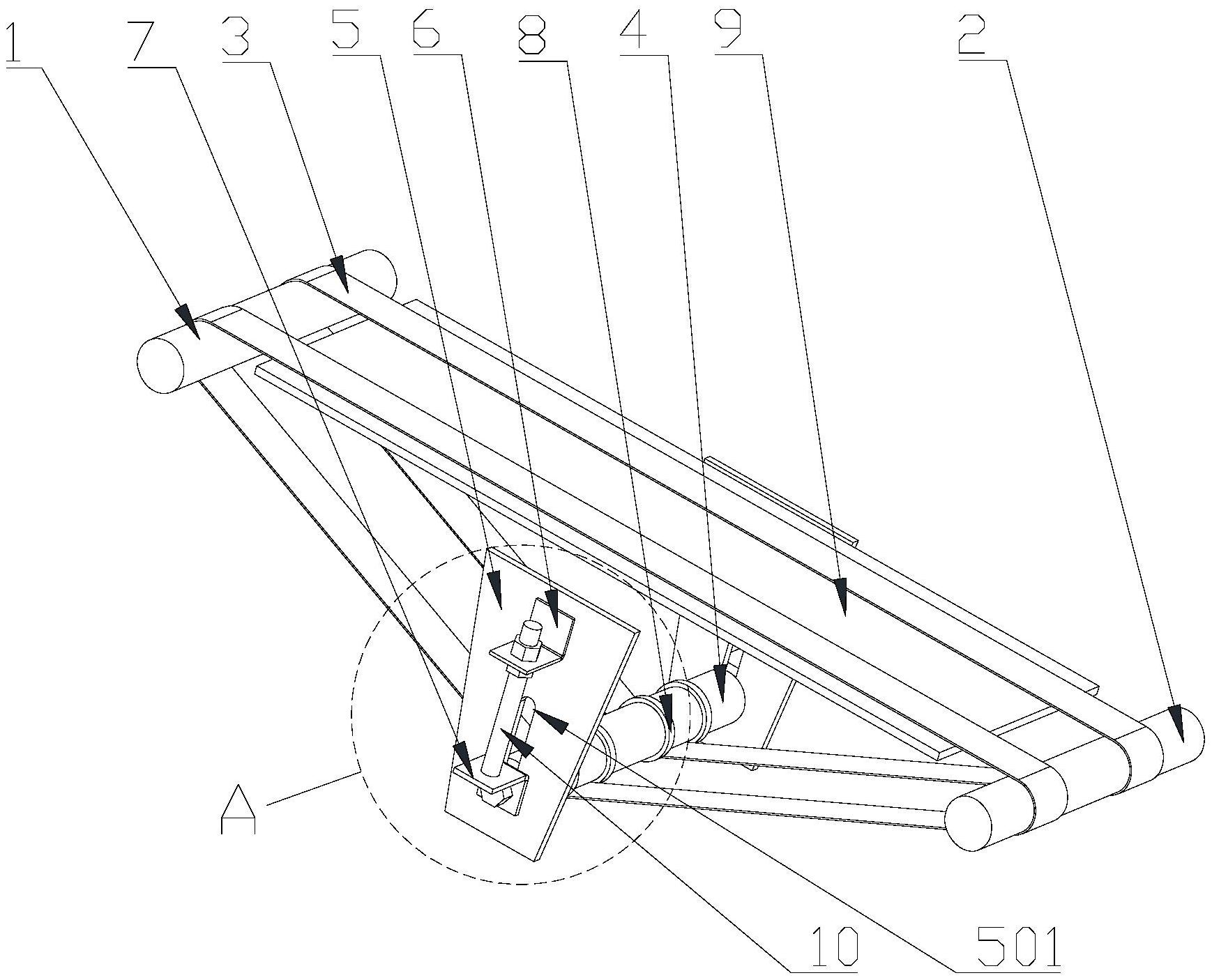
本实用新型涉及生产线输送设备技术领域,其目的是提供一种输送装置及输送设备,这种输送装置能保证包装箱在喷码时输送的稳定性,喷码信息不出现波浪形,使喷码信息清晰,易辨识,美观。上述输送装置包括第一滚筒和第二滚筒,第一滚筒和第二滚筒间隔一段距离设置,第一滚筒和第二滚筒之间设置有稳定输送机构,稳定输送机构包括至少一条皮带和支撑件,皮带套设在第一滚筒和第二滚筒上,与货物接触的皮带上半部分的下方设置有平板状支撑件。本实用新型解决了现有输送装置在输送包装箱喷码时包装箱抖动,从而导致喷码信息会出现波浪形状,影响辨识性和美观性的问题。


