授权公布号:CN219112241U
纸张分拣装置
有效
申请
2022-12-07
申请公布
1970-01-01
授权
2023-06-02
预估到期
2032-12-07
| 申请号 | CN202223272464.7 |
| 申请日 | 2022-12-07 |
| 授权公布号 | CN219112241U |
| 授权公告日 | 2023-06-02 |
| 分类号 | B07C5/34;B07C5/36 |
| 分类 | 将固体从固体中分离;分选; |
| 申请人名称 | 河北汇金集团股份有限公司 |
| 申请人地址 | 河北省石家庄市高新区湘江道209号 |
专利法律状态
2023-06-02
授权
状态信息
授权
摘要
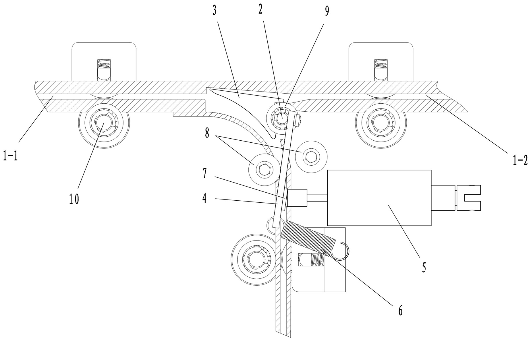
本实用新型公开了一种纸张分拣装置,设置在机架中两个纸张分拣通道的结合处,关键在于:包括借助转轴铰接在所述机架上的分拣板、固定在所述转轴上的中间驱动板、驱动所述中间驱动板转动的电磁铁以及两端分别与机架和所述中间驱动板相连的复位弹簧。本实用新型的有益效果是:1、结构简单,成本低,可以实现多通道纸张的分拣,区分3种及以上种类纸张;2、带有扫描、打印功能,可以实现对纸张信息的处理;设计了锁紧装置,便于顶板的抬起以及与机架间的锁紧。


