授权公布号:CN208027359U
一种身份证读卡器
有效
申请
2018-03-28
申请公布
1970-01-01
授权
2018-10-30
预估到期
2028-03-28
| 申请号 | CN201820428573.8 |
| 申请日 | 2018-03-28 |
| 授权公布号 | CN208027359U |
| 授权公告日 | 2018-10-30 |
| 分类号 | G06K7/00 |
| 分类 | 计算;推算;计数; |
| 申请人名称 | 长沙枫树林电子科技有限公司 |
| 申请人地址 | 湖南省长沙市高新开发区文轩路27号麓谷钰园F4栋1205号 |
专利法律状态
2018-10-30
授权
状态信息
授权
摘要
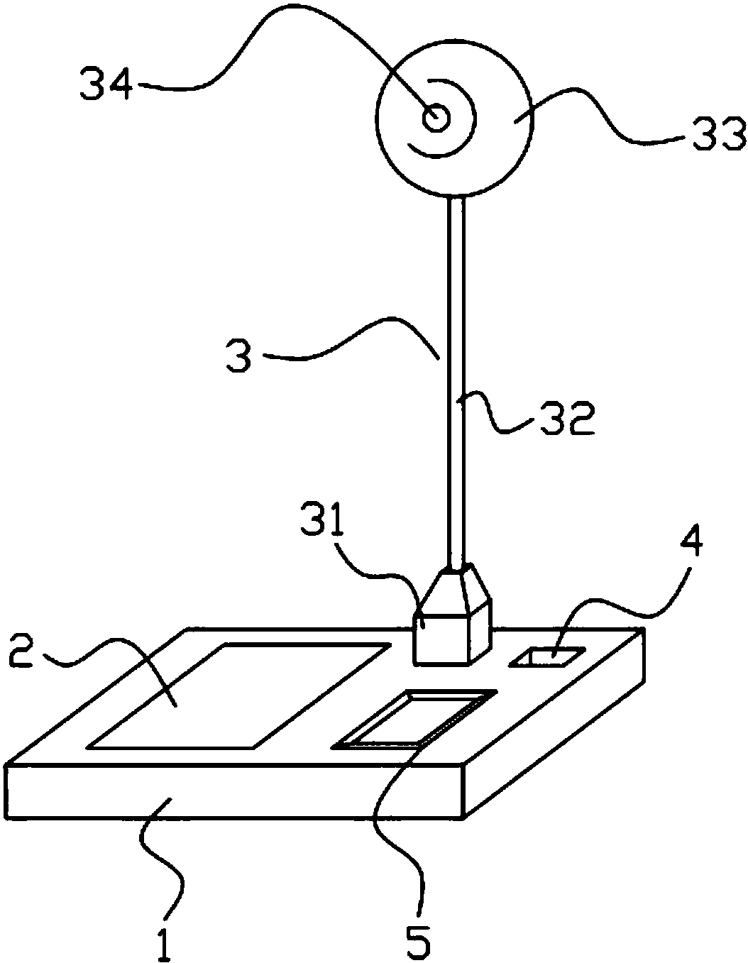
本实用新型提供了一种身份证读卡器,包括读卡器主体和摄像装置;读卡器主体上设置有身份证读卡模块、指纹识别模块和USB接口;身份证读卡模块、指纹识别模块和USB接口分别与读卡器主体电性连接;摄像装置包括摄像部、柔性支撑杆和USB接头;摄像部安装在柔性支撑杆的一端,另一端与USB接头连接;摄像部上安装有摄像头,摄像头与USB接头电性连接;摄像头通过USB接头和USB接口配合可与读卡器主体电性连接。通过在读卡器主体上设置指纹识别模块和USB接口,并利用USB接口外接摄像装置可以在读取身份证的同时,记录操作者的指纹信息和头像信息,确保身份证持有者本人与操作者为同一人,有效的提高了相关业务办理的安全性。


