授权公布号:CN219457075U
一种双屏一体设备
有效
申请
2023-03-28
申请公布
1970-01-01
授权
2023-08-01
预估到期
2033-03-28
| 申请号 | CN202320627846.2 |
| 申请日 | 2023-03-28 |
| 授权公布号 | CN219457075U |
| 授权公告日 | 2023-08-01 |
| 分类号 | G09F9/30;B08B17/02;B08B1/00;B08B11/04 |
| 分类 | 教育;密码术;显示;广告;印鉴; |
| 申请人名称 | 长沙枫树林电子科技有限公司 |
| 申请人地址 | 湖南省长沙市长沙高新开发区文轩路27号麓谷钰园F4栋1205号 |
专利法律状态
2023-08-01
授权
状态信息
授权
摘要
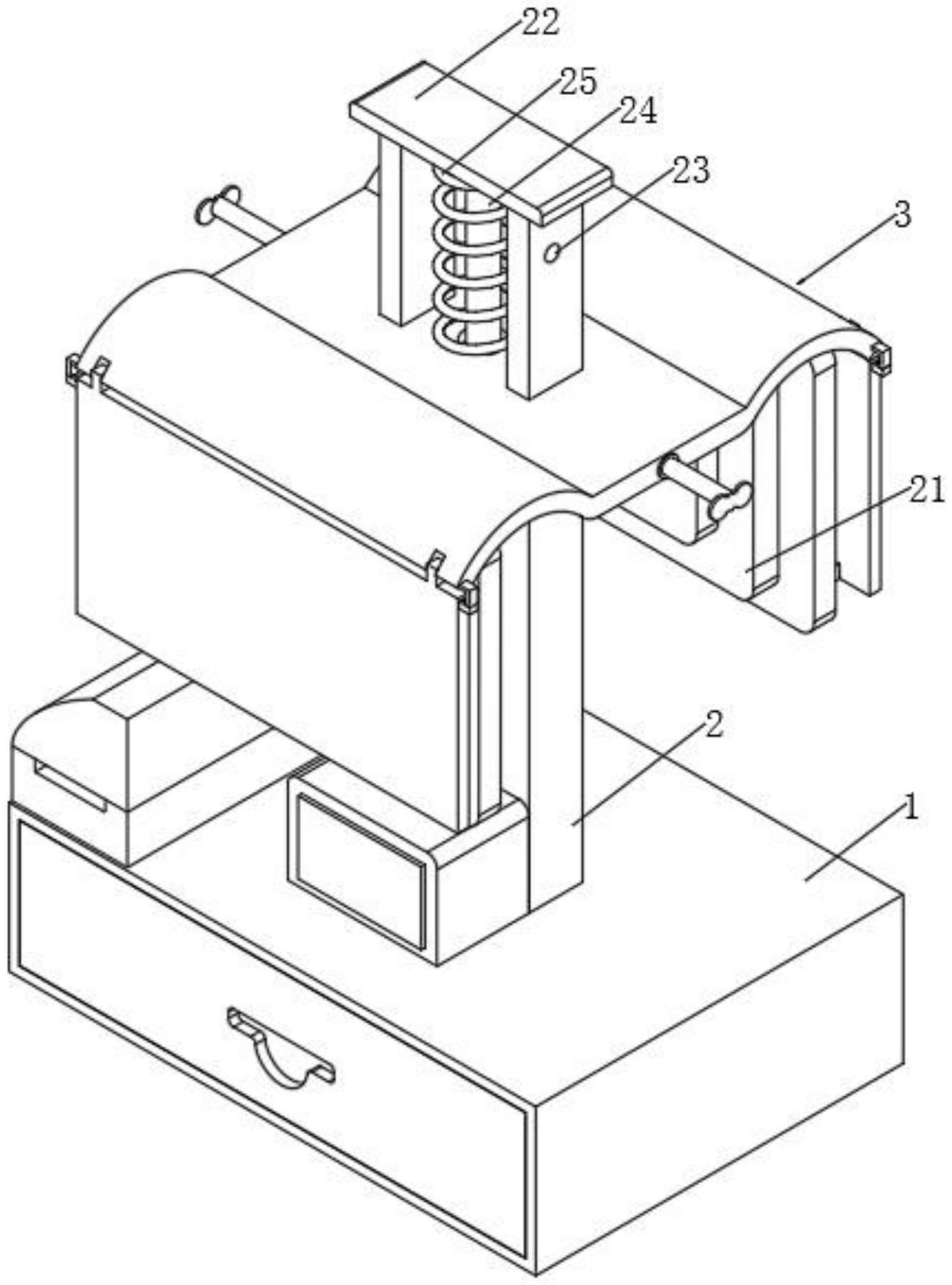
本实用新型涉及双屏设备技术领域,具体地说,涉及一种双屏一体设备,包括底座,底座的上侧设置有支架,支架的两侧均铰接有显示屏,支架的上侧连接有升降滑轨,升降滑轨内部滑动设置有防尘组件,其中:防尘组件通过在升降滑轨内的上下滑动调节位置,防尘组件位于升降滑轨底部时对显示屏进行防尘,防尘组件在滑动的过程中对显示屏表面的灰尘进行清理。本实用新型通过顶板两侧铰接的防尘板对显示屏进行防尘工作,当防尘板与显示屏保持平行时不仅可以对显示屏进行防尘同时还可以对显示屏进行保护,避免显示屏受到碰撞,同时在顶板带着防尘板移动时,清洁条对显示屏表面进行清洁,不仅可以防止灰尘飘散同时提高了清洁的力度。


