授权公布号:CN219249282U
一种用于衣物的缩口结构
有效
申请
2023-02-06
申请公布
1970-01-01
授权
2023-06-27
预估到期
2033-02-06
| 申请号 | CN202320127193.1 |
| 申请日 | 2023-02-06 |
| 授权公布号 | CN219249282U |
| 授权公告日 | 2023-06-27 |
| 分类号 | A41D27/00;A41D27/10;A41D31/02;A41D31/18;A41F9/02 |
| 分类 | 服装; |
| 申请人名称 | 爱慕股份有限公司 |
| 申请人地址 | 北京市朝阳区望京开发区利泽中园2区218、219号楼 |
专利法律状态
2023-06-27
授权
状态信息
授权
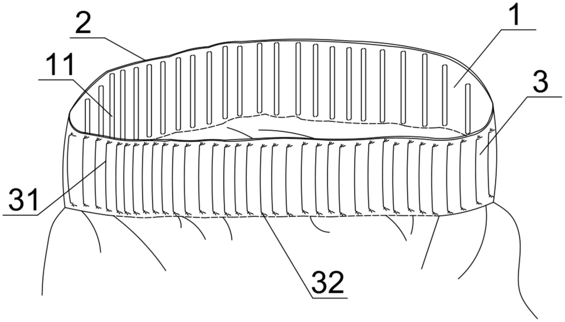
摘要
本实用新型涉及本实用新型公开了一种用于衣物的缩口结构,它包括弹性带、接合夹层和外表层,所述接合夹层为具有粘性的粘合层,所述外表层通过接合夹层粘接在弹性带外表面,且外表层表面具有褶皱结构,所述褶皱结构均匀排列,且褶皱结构凸出部分均朝向同一方向倾斜,所述弹性带弹性拉伸方向与褶皱结构被拉开展平的方向相同,且弹性带最大延伸长度小于褶皱结构的最大展开长度;通过弹性带、接合夹层和外表层的连接组合,形成片状较薄状态的环装缩口松紧带;通过褶皱结构保证不会限制弹性带的形变量,并且用在弹性不好的面料上也不会影响缩口结构的张开形变量,通过向一侧倾斜状态的褶皱结构保证缩口结构不会扎堆,提升平整状态。


