授权公布号:CN211670877U
车用手机充电重力支架
有效
申请
2018-10-09
申请公布
1970-01-01
授权
2020-10-13
预估到期
2028-10-09
| 申请号 | CN201821634041.6 |
| 申请日 | 2018-10-09 |
| 授权公布号 | CN211670877U |
| 授权公告日 | 2020-10-13 |
| 分类号 | H04M1/04;B60R11/02 |
| 分类 | 电通信技术; |
| 申请人名称 | 深圳市金佳佰业科技有限公司 |
| 申请人地址 | 广东省深圳市宝安区福永街道新田大道71-6号F栋7-10层 |
专利法律状态
2020-10-13
授权
状态信息
授权
摘要
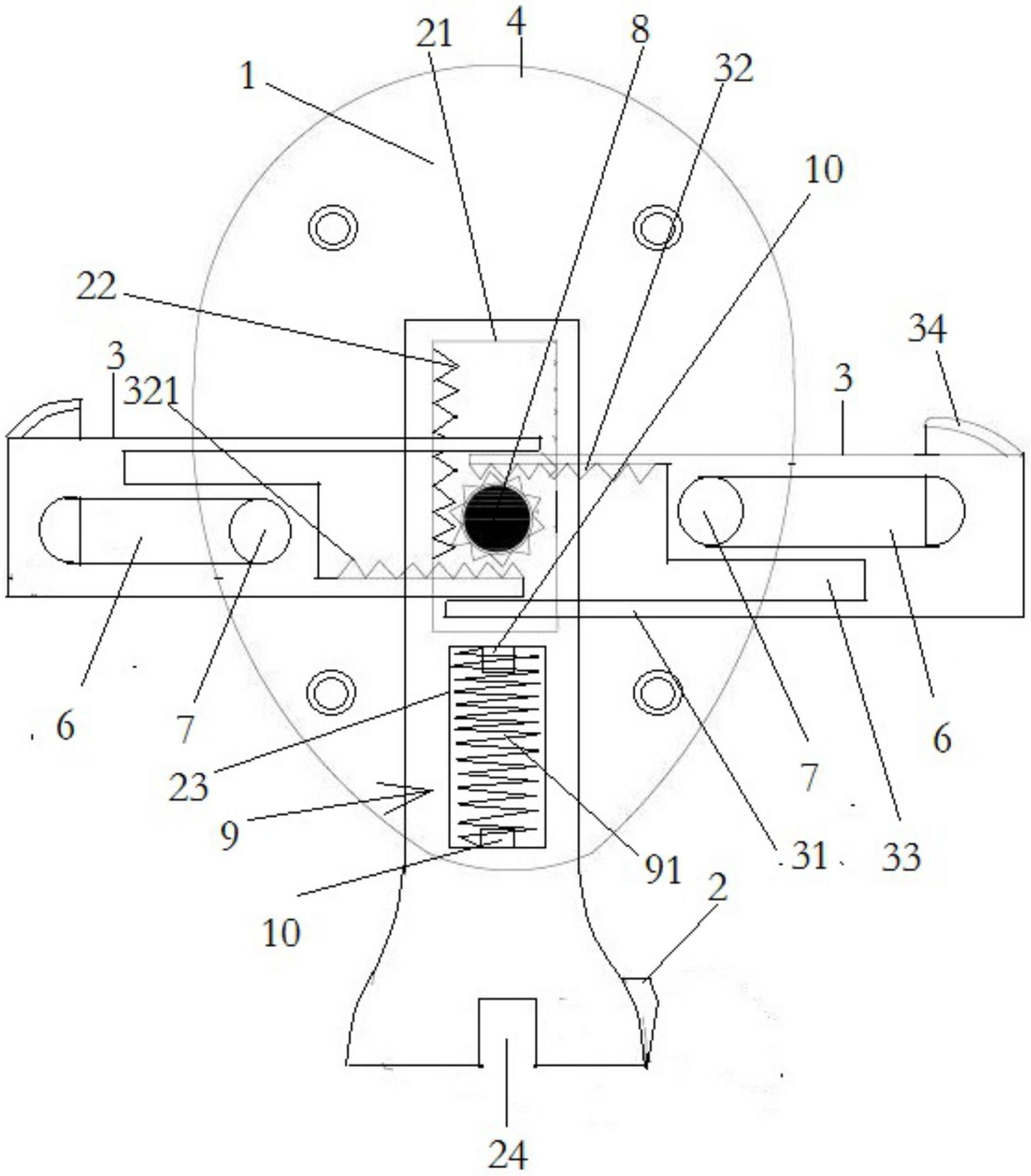
本实用新型公开了车用手机充电重力支架,包括主安装架,所述主安装架内设有托板和两个夹板,主安装架的背板上设有绕线装置,夹板上设有滑孔,主安装架内包括支柱、齿轮和复位结构,所述夹板一端还设有滑动条和滑动齿,左侧和右侧夹板的滑动齿分别与齿轮啮合,左侧夹板的滑动条与右侧夹板的滑动齿贴合,右侧夹板的滑动条与左侧夹板的滑动齿贴合;所述托板包括滑动框,所述滑动框左侧设有一组滑齿,所述滑齿与所述齿轮啮合。本实用新型的有益效果是,采用齿轮结合滑动结构实现联动,结构简单而夹持稳固;可随时对复位结构等部件进行调节,使得使用效果更佳,安装拆卸简单;同时具备数据线收纳功能,能稳固夹持手机且充电方便。


