授权公布号:CN211221098U
一种家具板打孔装置
有效
申请
2019-11-27
申请公布
1970-01-01
授权
2020-08-11
预估到期
2029-11-27
| 申请号 | CN201922077817.X |
| 申请日 | 2019-11-27 |
| 授权公布号 | CN211221098U |
| 授权公告日 | 2020-08-11 |
| 分类号 | B27C3/02 |
| 分类 | 木材或类似材料的加工或保存;一般钉钉机或钉U形钉机; |
| 申请人名称 | 江苏笨笨猫新材料有限公司 |
| 申请人地址 | 江苏省宿迁市沭阳县桑墟镇老庄工业区 |
专利法律状态
2020-08-11
授权
状态信息
授权
摘要
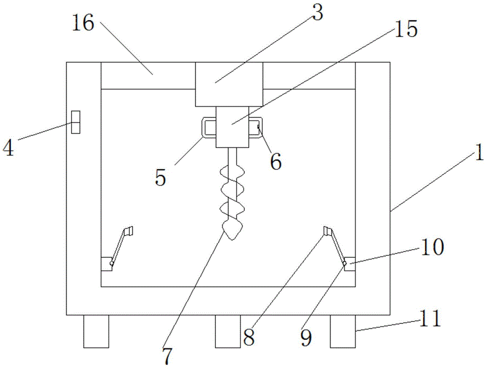
本实用新型公开了一种家具板打孔装置,包括第一凹槽、第二凹槽和第二滑块,所述第二滑块的下方连接电机,所述电机的两侧设置把手,一侧的所述把手内安装第二按钮,所述电机的正下方设置钻头,所述第一凹槽内设置第一滑块,所述第二凹槽内设置移动架,所述第一凹槽的中间下方的两侧且在装置本体的内侧设置安装块,本实用新型开设有第一凹槽、第二凹槽和滑道,第一滑块位于第一凹槽内,滑道位于移动架上,而移动架位于第二凹槽内,使用环环相扣的相对运动,使得电钻的移动范围更广,更加的灵活,另外装置本体的内侧还安装有电动夹钳,固定住家具板,以便于打孔。


