授权公布号:CN211136552U
一种装饰板表面打磨用夹持装置
有效
申请
2019-11-27
申请公布
1970-01-01
授权
2020-07-31
预估到期
2029-11-27
| 申请号 | CN201922077810.8 |
| 申请日 | 2019-11-27 |
| 授权公布号 | CN211136552U |
| 授权公告日 | 2020-07-31 |
| 分类号 | B24B7/07 |
| 分类 | 磨削;抛光; |
| 申请人名称 | 江苏笨笨猫新材料有限公司 |
| 申请人地址 | 江苏省宿迁市沭阳县桑墟镇老庄工业区 |
专利法律状态
2020-07-31
授权
状态信息
授权
摘要
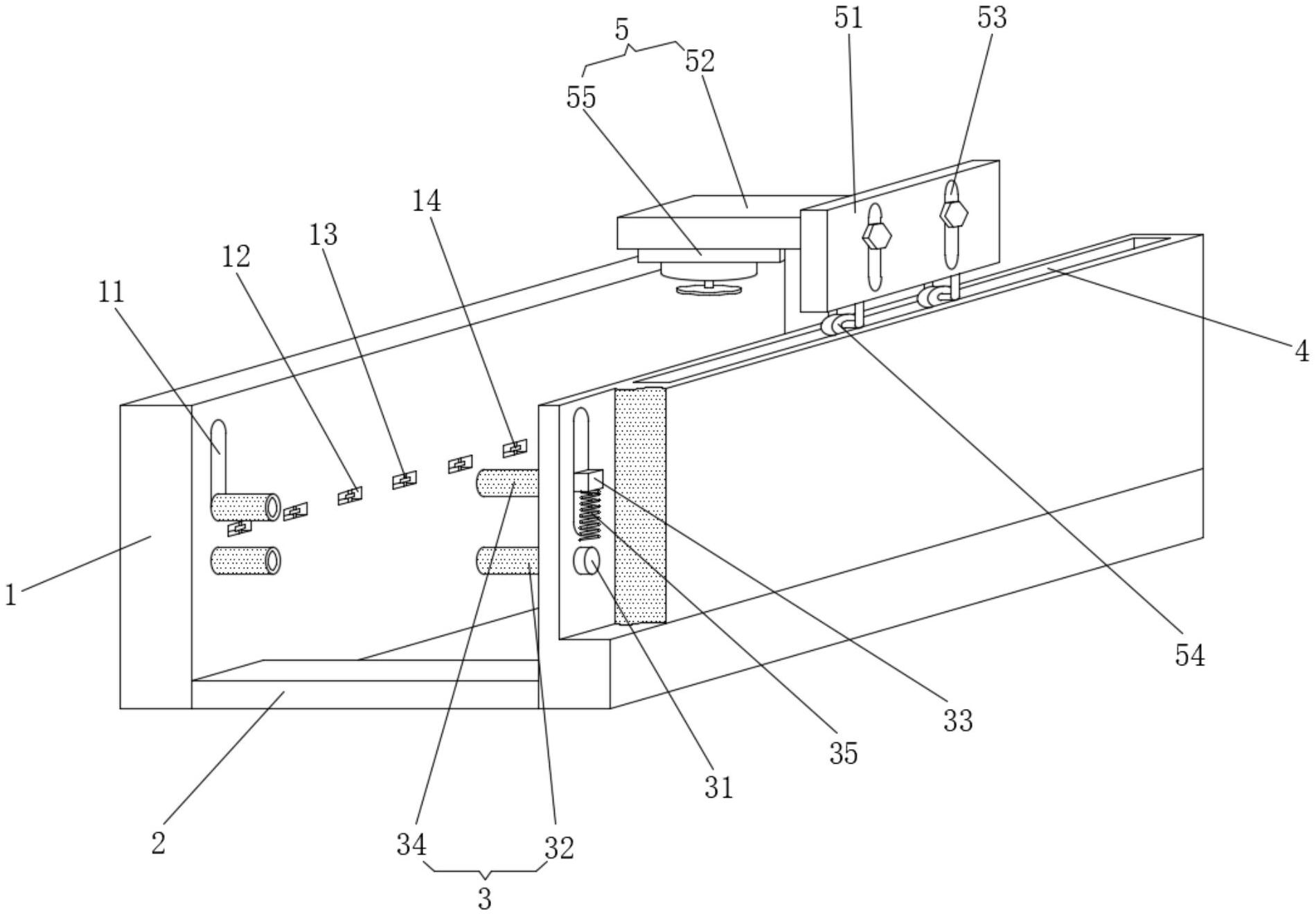
本实用新型公开一种装饰板表面打磨用夹持装置,包括固定架,固定架设置有两个,两个固定架相靠近的一侧设置有可对不同厚度装饰板进行固定的夹持组件,其中一个固定架的顶面开设有滑道,滑道的内部安装有可在其内部自由移动的活动组件,夹持组件固定在固定架的侧面靠近顶部处,夹持组件包括通过轴承与固定架连接的固定轴和通过滑块连接的活动轴,活动组件包括滑杆和固定杆,滑杆的一侧开设有滑槽,固定杆为L型,且L型固定杆的一端通过螺栓与滑槽连接。通过以上各装置的配合使用,能够使装饰板在进行打磨时能够方便夹持固定,并且减少打磨死角,以及能够将打磨机与装饰板之间的距离稳定在某一定值,以提升装饰板的打磨效果。


