授权公布号:CN218971808U
风电齿轮箱
有效
申请
2023-01-31
申请公布
1970-01-01
授权
2023-05-05
预估到期
2033-01-31
| 申请号 | CN202320091301.4 |
| 申请日 | 2023-01-31 |
| 授权公布号 | CN218971808U |
| 授权公告日 | 2023-05-05 |
| 分类号 | F16H57/04;F16H1/28;F03D15/00;F03D80/70 |
| 分类 | 工程元件或部件;为产生和保持机器或设备的有效运行的一般措施;一般绝热; |
| 申请人名称 | 南京高速齿轮制造有限公司 |
| 申请人地址 | 江苏省南京市江宁区高新园侯焦路30号 |
专利法律状态
2023-05-05
授权
状态信息
授权
摘要
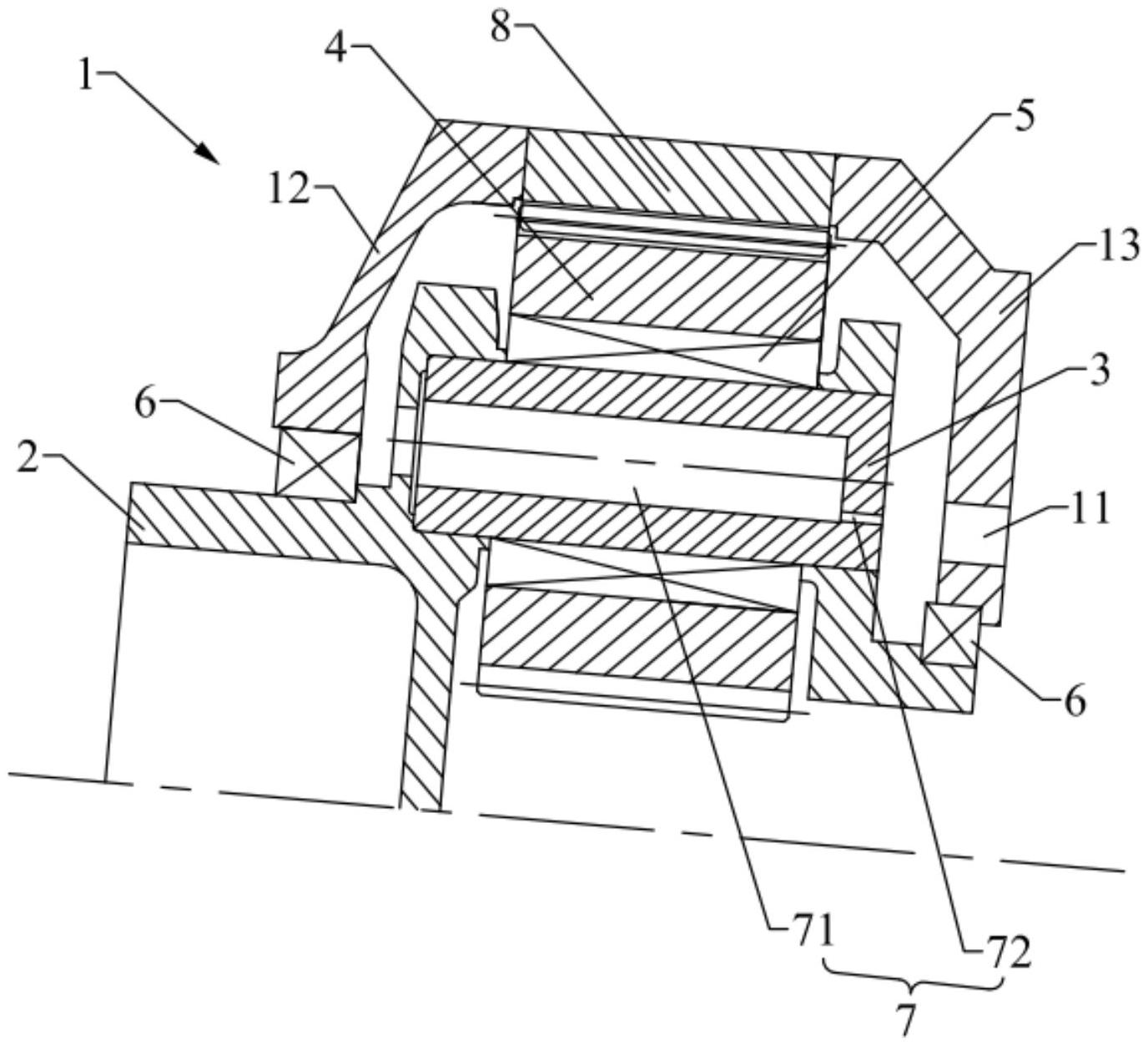
本实用新型公开了一种风电齿轮箱,其属于齿轮箱技术领域,包括箱体、行星架、销轴、行星轮、润滑油道和行星架轴承,箱体的内部形成容置腔,容置腔的底部有润滑油液;行星架转动设置于容置腔内,销轴设置于行星架上,行星轮与销轴连接,润滑油道设置于行星架和/或销轴上,润滑油道包括储油腔和节流孔,储油腔的一端形成进油口,节流孔设置于储油腔的另一端;行星架轴承设置于行星架与箱体之间且位于节流孔的一侧,节流孔喷出的油液能够润滑行星架轴承,提高行星架轴承的使用寿命,降低故障率。节流孔对储油腔内的润滑油液起到增压作用,使得润滑油液喷射到行星架轴承上,提高润滑效果。


