授权公布号:CN207138113U
一种窑头电除尘器
有效
申请
2017-09-29
申请公布
1970-01-01
授权
2018-03-27
预估到期
2027-09-29
| 申请号 | CN201721265043.8 |
| 申请日 | 2017-09-29 |
| 授权公布号 | CN207138113U |
| 授权公告日 | 2018-03-27 |
| 分类号 | B03C3/09;B03C3/011;B03C3/78;B03C3/68 |
| 分类 | 用液体或用风力摇床或风力跳汰机分离固体物料;从固体物料或流体中分离固体物料的磁或静电分离;高压电场分离〔5〕; |
| 申请人名称 | 重庆市南桐特种水泥有限责任公司 |
| 申请人地址 | 重庆市万盛区南桐镇石桥村 |
专利法律状态
2018-03-27
授权
状态信息
授权
摘要
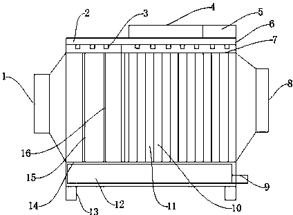
本实用新型公开了一种窑头电除尘器,包括气体入口、导流板、分布板、集灰箱、控制面板,所述气体入口一侧设置有预收尘装置,所述预收尘装置包括所述导流板和所述分布板,所述预收尘装置远离所述气体入口一侧设置有电极板,所述电极板包括放电阴极和收尘阳极,所述电极板上方设置有冲洗装置,所述冲洗装置包括水泵、输水管道和喷头,所述冲洗装置上方设置有高频电源,所述电极板下方设置有所述集灰箱,所述电极板远离所述预收尘装置一侧设置有气体出口。有益效果在于:本实用新型设置了预收尘装置和四套高频电源,能高效的进行除尘工作,去除气体中的杂质尘埃,有效控制气体的排放质量,完全符合环保新要求即小于30毫克的排放标准。


