授权公布号:CN208101250U
一种保暖吸汗聚酯纤维面料
有效
申请
2018-03-12
申请公布
1970-01-01
授权
2018-11-16
预估到期
2028-03-12
| 申请号 | CN201820335075.9 |
| 申请日 | 2018-03-12 |
| 授权公布号 | CN208101250U |
| 授权公告日 | 2018-11-16 |
| 分类号 | B32B27/02;B32B7/12;B32B27/36;B32B3/24;B32B33/00;B32B3/08 |
| 分类 | 层状产品; |
| 申请人名称 | 南京行狐集团有限公司 |
| 申请人地址 | 江苏省南京市建邺区奥体大街68号新城科技大厦01栋24层 |
专利法律状态
2020-09-29
专利权人的姓名或者名称、地址的变更
状态信息
专利权人的姓名或者名称、地址的变更;IPC(主分类):B32B 27/02;专利号:ZL2018203350759;变更事项:专利权人;变更前:南京行狐电子商务有限公司;变更后:南京行狐集团有限公司;变更事项:地址;变更前:210000 江苏省南京市建邺区奥体大街68号新城科技园国际研发总部园1栋24楼;变更后:210019 江苏省南京市建邺区奥体大街68号新城科技大厦01栋24层
2018-11-16
实用新型专利权授予
状态信息
授权
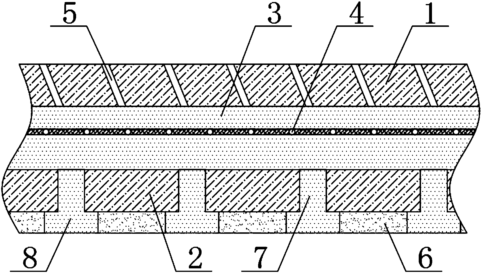
摘要
本实用新型公开了一种保暖吸汗聚酯纤维面料,包括面料外层,所述面料外层一侧设有面料内层,所述面料内层与面料外层之间设有湿气聚集层,所述湿气聚集层内部设有抗菌编织层,所述湿气聚集层与面料外层之间设有导流槽,所述面料内层一侧设有皮肤接触层,所述湿气聚集层与皮肤接触层之间设有导流编织层。本实用新型通过设置湿气聚集层、导流槽和导流编织层,使用者运动出汗后,凸出块吸附汗液经导流编织层传输至湿气聚集层,后经多个倾斜的导流槽将湿气排出该布料,防止湿气聚集增加使用者的不适感,此外抗菌编织层根据竹炭自身的异味吸附性,可将面料内汗渍的异味进行吸收,达到增加该面料的舒适性的效果。


