授权公布号:CN218583201U
艾柱用点火柱
有效
申请
2022-11-07
申请公布
1970-01-01
授权
2023-03-07
预估到期
2032-11-07
| 申请号 | CN202222945700.0 |
| 申请日 | 2022-11-07 |
| 授权公布号 | CN218583201U |
| 授权公告日 | 2023-03-07 |
| 分类号 | F23Q13/00 |
| 分类 | 燃烧设备;燃烧方法; |
| 申请人名称 | 苏州好博医疗器械股份有限公司 |
| 申请人地址 | 江苏省苏州市太仓市浏河镇紫藤路8号 |
专利法律状态
2023-03-07
授权
状态信息
授权
摘要
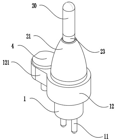
本实用新型公开了艾柱用点火柱,包括定位件和安装在定位件上的点火柱,所述的点火柱上还安装有加热圆台,其中点火柱和加热圆台为一体连接或可拆卸连接,所述的点火柱的上端还安装有导杆,所述的点火柱经导杆贯穿有艾柱。本申请点火柱上还设置加热圆台,加热圆台为锥形结构,通过点火柱对艾柱的下端进行点燃,艾柱采用下端点火的方式方便艾灰脱落,有效防止艾灰堆积在艾柱上影响艾柱的点燃效果;即使艾柱燃烧后出现脱离导杆的现象,结合加热圆台的锥形结构特点,点火柱结合加热圆台有效对脱离的艾柱进行继续点燃,进而保障艾柱燃烧的充分性。


