授权公布号:CN215240854U
一种带电磁吸盘的桁架机械手
有效
申请
2021-07-06
申请公布
1970-01-01
授权
2021-12-21
预估到期
2031-07-06
| 申请号 | CN202121516899.4 |
| 申请日 | 2021-07-06 |
| 授权公布号 | CN215240854U |
| 授权公告日 | 2021-12-21 |
| 分类号 | B25J9/02;B25J9/10;B25J15/06 |
| 分类 | 手动工具;轻便机动工具;手动器械的手柄;车间设备;机械手; |
| 申请人名称 | 浙江晨龙锯床股份有限公司 |
| 申请人地址 | 浙江省丽水市缙云县壶镇镇华强路1号 |
专利法律状态
2021-12-21
授权
状态信息
授权
摘要
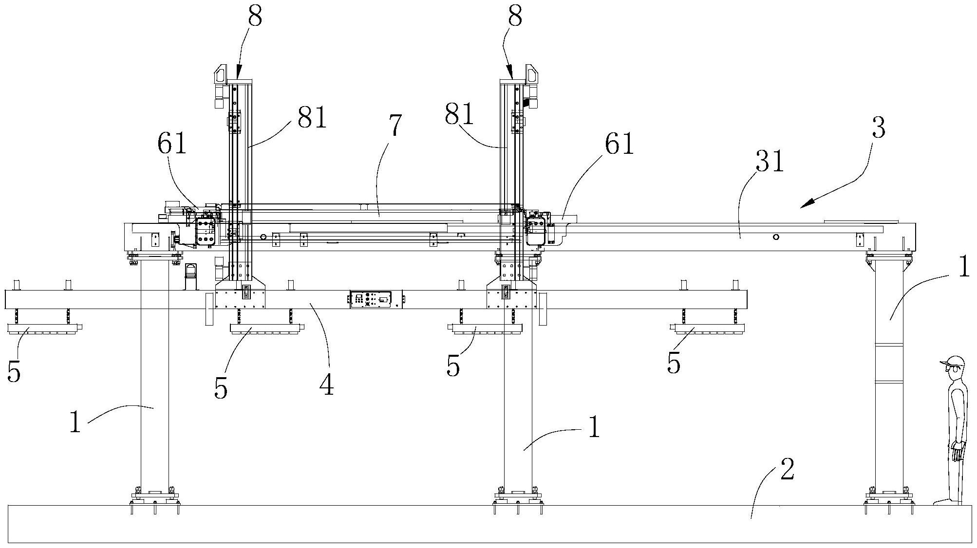
本实用新型涉及一种带电磁吸盘的桁架机械手,包括周侧通过若干立柱支撑于地面上的桁架、移动横梁、若干电磁吸盘、X向同步移位组件、Y向同步移位组件、Z向同步移位组件,移动横梁位于桁架下方,电磁吸盘用于取放物料,各电磁吸盘的X向均布于移动横梁下方,X向同步移位组件架置于桁架上并沿着桁架向左或向右移位,Y向同步移位组件驱动并沿着X向同步移位组件向前或向后移位,Z向同步移位组驱动并沿着Y向同步移位组件作Z向下降或抬升,移动横梁与Z向同步移位组件连接。通过电磁吸盘可以抓取不同规格的型材,本实用新型通过与总控设备实施联动精准控制和协同工作,即可实现型材的自动精准抓取和转运、堆垛。


