授权公布号:CN2548494
安全婴儿提篮
有效
申请
2002-06-26
申请公布
1970-01-01
授权
2003-05-07
预估到期
2012-06-26
| 申请号 | CN02262689.1 |
| 申请日 | 2002-06-26 |
| 授权公布号 | CN2548494 |
| 授权公告日 | 2003-05-07 |
| 分类号 | A47D13/02 |
| 分类 | 家具;家庭用的物品或设备;咖啡磨;香料磨;一般吸尘器; |
| 申请人名称 | 镇江佳峰儿童用品有限公司 |
| 申请人地址 | 江苏省镇江市润州开发区润兴路128号 |
专利法律状态
2021-06-25
授权
状态信息
授权
2012-08-29
专利权的终止
状态信息
未缴年费专利权终止;IPC(主分类):A47D 13/02;申请日:20020626;授权公告日:20030507;终止日期:20110626
2003-05-07
实用新型专利权授予
状态信息
授权
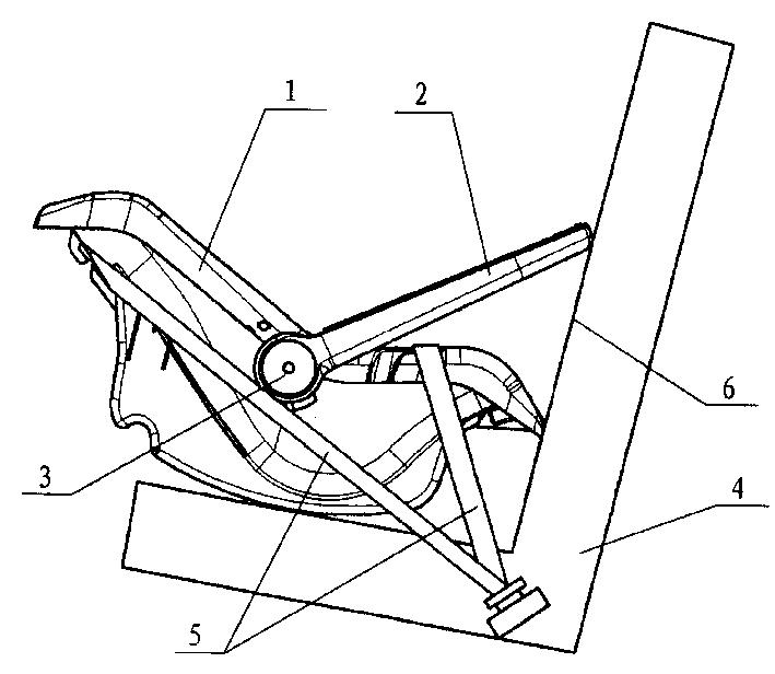
摘要
本实用新型涉及一种安全婴儿提篮。该婴儿提篮的提篮把手两端与提篮本体两侧通过一个旋转调档装置连接,提篮把手的档位中有一个档位是安全固定档位,在该档位上,提篮把手向提篮本体的前上方倾斜,提篮把手边缘与提篮本体前端边缘构成一个支撑面。本实用新型的优点是,当其放置在汽车座椅上时,其前部的支撑为平面支撑,增加了支撑、固定的稳定性,因而使用得安全、可靠。


