授权公布号:CN109156986B
一种可折叠式多功能桌
有效
申请
2018-11-12
申请公布
2019-01-08
授权
2022-02-22
预估到期
2038-11-12
| 申请号 | CN201811336489.4 |
| 申请日 | 2018-11-12 |
| 申请公布号 | CN109156986A |
| 申请公布日 | 2019-01-08 |
| 授权公布号 | CN109156986B |
| 授权公告日 | 2022-02-22 |
| 分类号 | A47B5/04;A47B9/04 |
| 分类 | 家具;家庭用的物品或设备;咖啡磨;香料磨;一般吸尘器; |
| 申请人名称 | 广东鸿业家具制造有限公司 |
| 申请人地址 | 广东省江门市鹤山市鹤城镇鹤山市工业城A区创荣路18号1-5座、20号1-2座、6-7座 |
专利法律状态
2022-02-22
授权
状态信息
授权
2019-01-08
公布
状态信息
公布
摘要
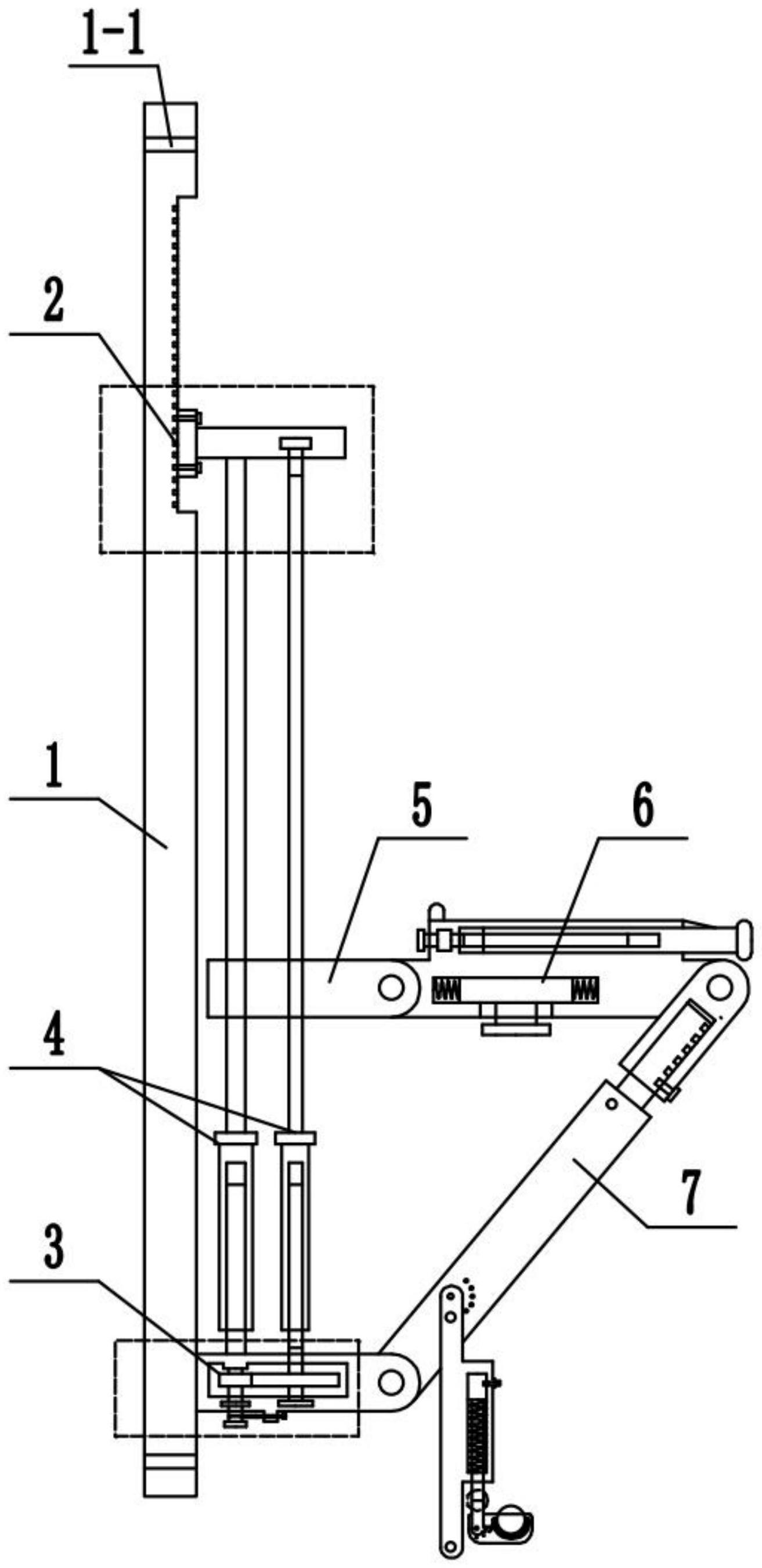
本发明涉及一种家用工具,更具体的说是一种可折叠式多功能桌,包括固定板、上固定机构、下固定机构、支撑机构、调节板、桌体机构、辅助支撑机构,装置在不使用的时候能够折叠收容起来,不占用空间,并且高度可调,桌体的角度可以根据需要调节,辅助桌板的正反面可调,正反面光滑度不一样,根据需要调节使用,装置还可以用于腿部的锻炼。上固定机构与下固定机构均安装在固定板上,下固定机构位于固定板的下端,支撑机构的上端与上固定机构相连接,支撑机构的下端与下固定机构相连接,调节板与支撑机构相连接,桌体机构与调节板活动连接,辅助支撑机构的一端与桌体机构活动连接,辅助支撑机构的另一端与下固定机构活动连接。


