授权公布号:CN211748260U
一种带有床功能的椅子
有效
申请
2019-12-18
申请公布
1970-01-01
授权
2020-10-27
预估到期
2029-12-18
| 申请号 | CN201922278490.2 |
| 申请日 | 2019-12-18 |
| 授权公布号 | CN211748260U |
| 授权公告日 | 2020-10-27 |
| 分类号 | A47C13/00 |
| 分类 | 家具;家庭用的物品或设备;咖啡磨;香料磨;一般吸尘器; |
| 申请人名称 | 广东鸿业家具制造有限公司 |
| 申请人地址 | 广东省江门市鹤山市鹤城镇鹤山市工业城A区创荣路18号1-5座、20号1-2座、6-7座 |
专利法律状态
2020-10-27
授权
状态信息
授权
摘要
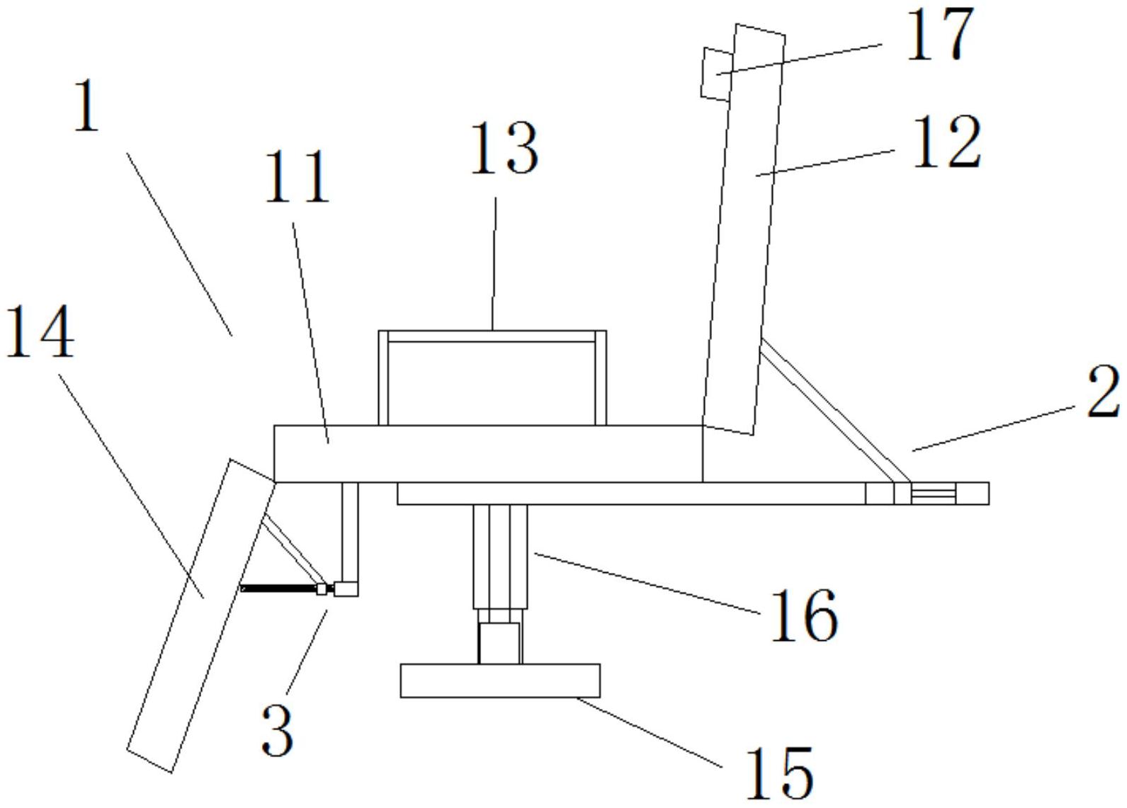
本实用新型公开了一种带有床功能的椅子,椅子包括坐垫、背靠、扶手、底盘、支撑柱,底盘设在坐垫的下方,支撑柱固定安装在底盘的上端,支撑柱的上端与坐垫的下底面相互连接,扶手对称设在坐垫上方的前后两侧,背靠设在坐垫的右方,背靠的左端与坐垫的右端相互铰接;背靠的下方安装有背靠升降装置,背靠升降装置的一端与背靠的下端相互连接,背靠升降装置的另一端固定安装在坐垫的下方。本实用新型结构合理,操作简单,使用灵活方便,可以随时变换床和椅子的功能,使人们在椅子上坐累时可以直接将椅子变成床进行休息;可以通过改变支撑柱的高度来改变椅子的高度。


