授权公布号:CN211432911U
头发护理用具
有效
申请
2019-08-19
申请公布
1970-01-01
授权
2020-09-08
预估到期
2029-08-19
| 申请号 | CN201921344949.8 |
| 申请日 | 2019-08-19 |
| 授权公布号 | CN211432911U |
| 授权公告日 | 2020-09-08 |
| 分类号 | A61B5/053;G08C17/02 |
| 分类 | 医学或兽医学;卫生学; |
| 申请人名称 | 飞利浦(中国)投资有限公司 |
| 申请人地址 | 上海市静安区灵石路718号A1幢 |
专利法律状态
2020-09-08
授权
状态信息
授权
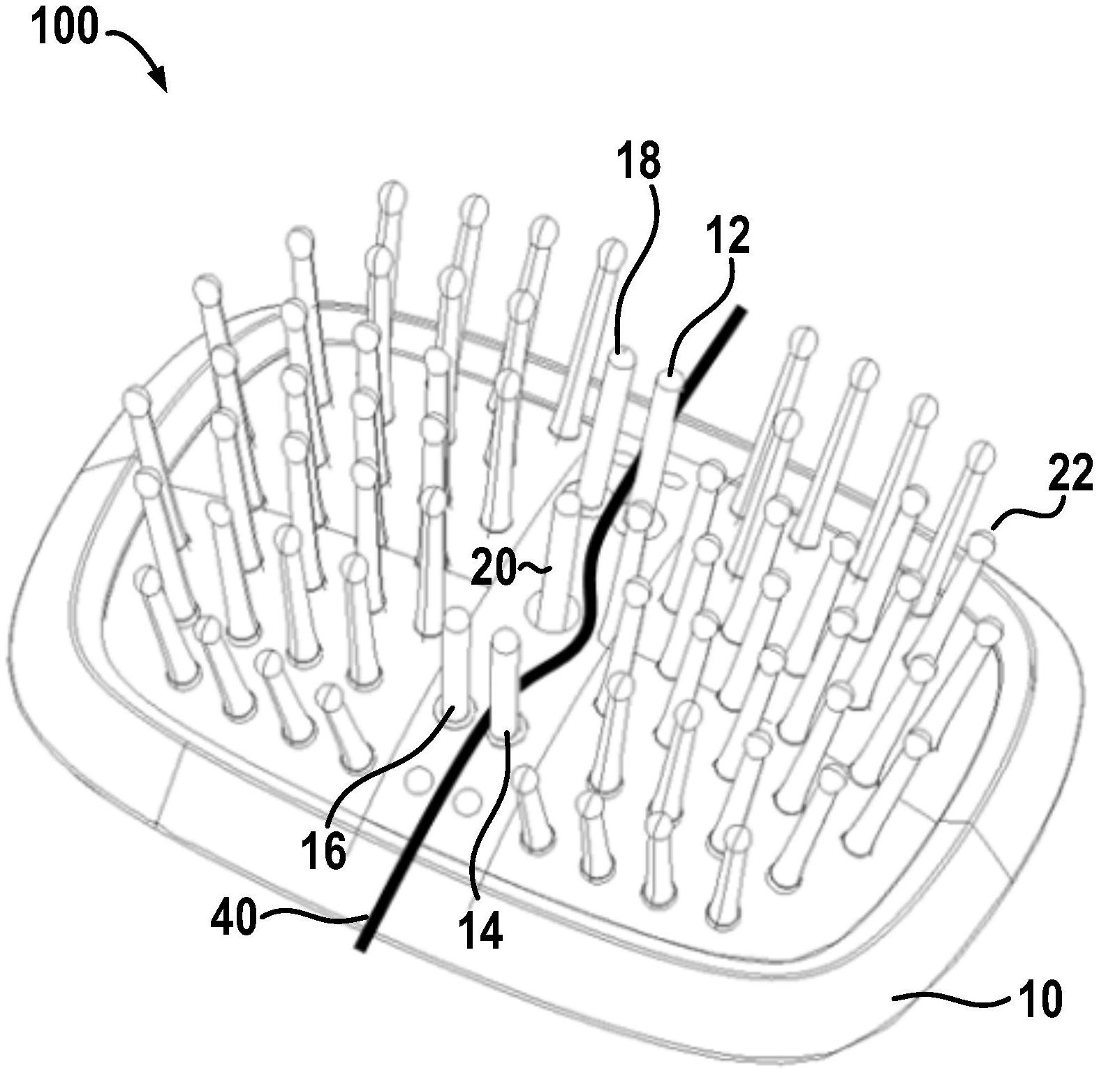
摘要
本公开的实施例涉及一种头发护理用具,该头发护理用具包括:基部;电极引脚对,被布置在基部的前侧上,并且被配置为在梳理头发时与头皮或者头发形成电接触;以及阻抗检测器,被电耦合到电极引脚对,并且被配置为测量头皮或者头发的阻抗。


