授权公布号:CN109974183B
一种上加水加湿器
有效
申请
2019-05-07
申请公布
2019-07-05
授权
2024-02-13
预估到期
2039-05-07
| 申请号 | CN201910377313.1 |
| 申请日 | 2019-05-07 |
| 申请公布号 | CN109974183A |
| 申请公布日 | 2019-07-05 |
| 授权公布号 | CN109974183B |
| 授权公告日 | 2024-02-13 |
| 分类号 | F24F6/12 |
| 分类 | 供热;炉灶;通风; |
| 申请人名称 | 小熊电器股份有限公司 |
| 申请人地址 | 广东省佛山市顺德区勒流街道富裕村委会富安集约工业区5-2-1号地 |
专利法律状态
2024-02-13
授权
状态信息
授权
2019-07-30
实质审查的生效
状态信息
实质审查的生效;IPC(主分类):F24F6/12;申请日:20190507
2019-07-05
公布
状态信息
公布
摘要
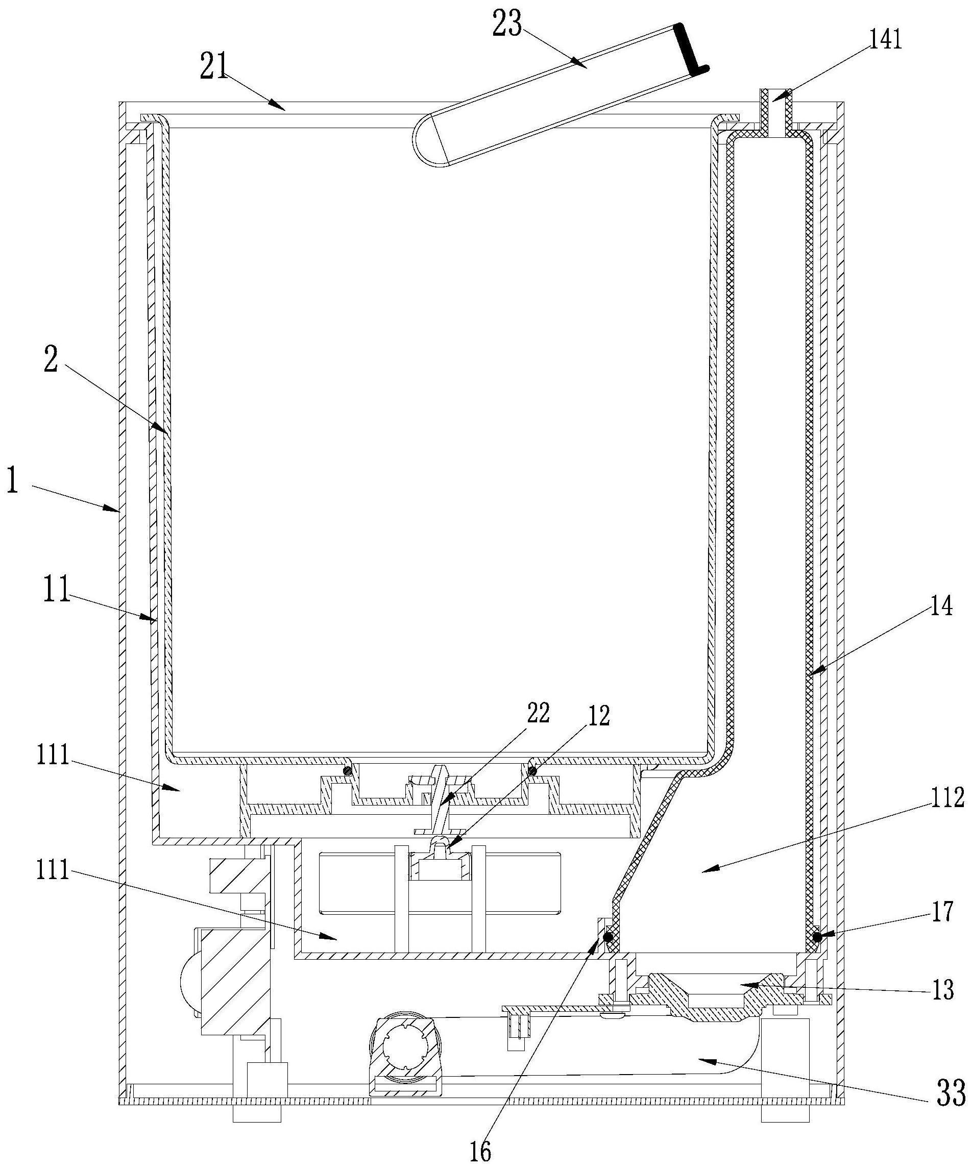
本发明公开一种上加水加湿器,包括加湿器本体和可从加湿器本体抽离的水桶,加湿器本体内设有雾化腔,雾化腔的底部设有雾化片,水桶的底部设有下水口及位于下水口的水阀;该加湿器本体的上末端设有敞口结构的蓄水腔,水桶可抽离的设置在蓄水腔内,且蓄水腔内设有用于控制水阀打开或关闭的下水控制器;雾化腔位于蓄水腔外侧面且雾化腔与蓄水腔之间通过隧道连通结构相连通。本发明结构简单、使用安全可靠通过在水桶与雾化腔之间设置蓄水腔并利用蓄水腔给雾化腔进行二次供水以在抽出水桶进行加水操作时让加湿器保持连续不间断的加湿工作。


