授权公布号:CN213273644U
一种玫瑰花茶加工用清洗烘干装置
有效
申请
2020-09-08
申请公布
1970-01-01
授权
2021-05-25
预估到期
2030-09-08
| 申请号 | CN202021950345.0 |
| 申请日 | 2020-09-08 |
| 授权公布号 | CN213273644U |
| 授权公告日 | 2021-05-25 |
| 分类号 | B08B3/02;B01D41/04;F26B17/04;F26B23/04;F26B25/02;B01D29/01;A23F3/34 |
| 分类 | 清洁; |
| 申请人名称 | 谢裕大茶叶股份有限公司 |
| 申请人地址 | 安徽省黄山市徽州区城北工业园区(文峰西路1号) |
专利法律状态
2021-05-25
授权
状态信息
授权
摘要
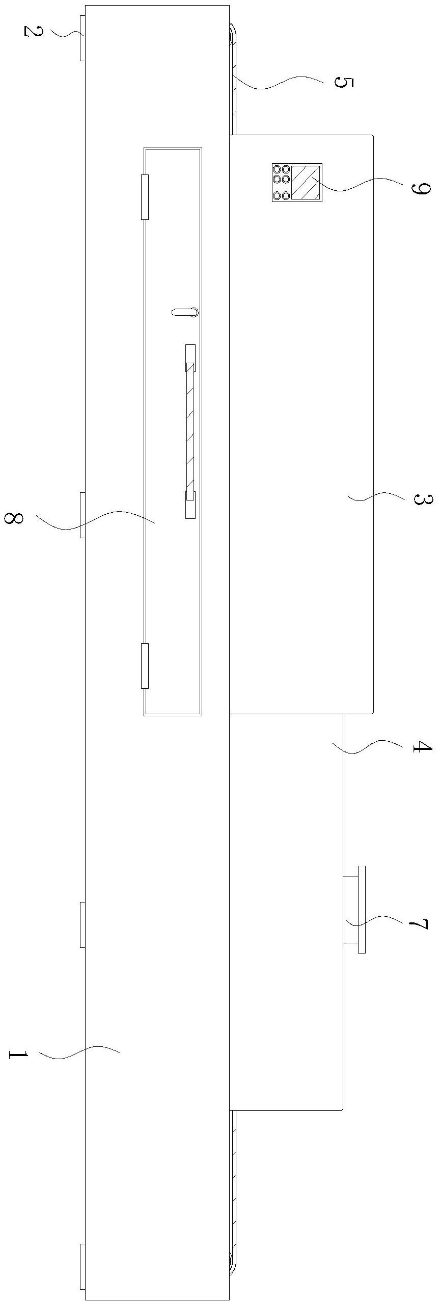
本实用新型涉及花茶加工设备技术领域,提供一种玫瑰花茶加工用清洗烘干装置,旨在解决现有的花茶清洗烘干加工为分体式设备,加工效率较低,且清洗和烘干之间存在转运过程,容易导致污染,影响制备出的玫瑰花茶品质的问题,包括呈条形的传输机箱和传输机箱下端安装的多个支撑垫脚,传输机箱的内腔上部水平转动安装有传输网眼带,传输机箱上端沿着传输网眼带的传输方向依次设有清洗室和烘干室,清洗室内设有清洗机构,烘干室内设有烘干机构;清洗机构包括设置在清洗室内腔中并呈倒梯形结构的金属编织带。本实用新型尤其适用于玫瑰花茶加工的清洗烘干,具有较高的社会使用价值和应用前景。


