授权公布号:CN214932432U
一种食品罐
有效
申请
2021-05-14
申请公布
1970-01-01
授权
2021-11-30
预估到期
2031-05-14
| 申请号 | CN202121039309.3 |
| 申请日 | 2021-05-14 |
| 授权公布号 | CN214932432U |
| 授权公告日 | 2021-11-30 |
| 分类号 | B65D81/36 |
| 分类 | 输送;包装;贮存;搬运薄的或细丝状材料; |
| 申请人名称 | 漳州天福茶业有限公司 |
| 申请人地址 | 福建省漳州市漳浦县盘陀镇 |
专利法律状态
2021-11-30
授权
状态信息
授权
摘要
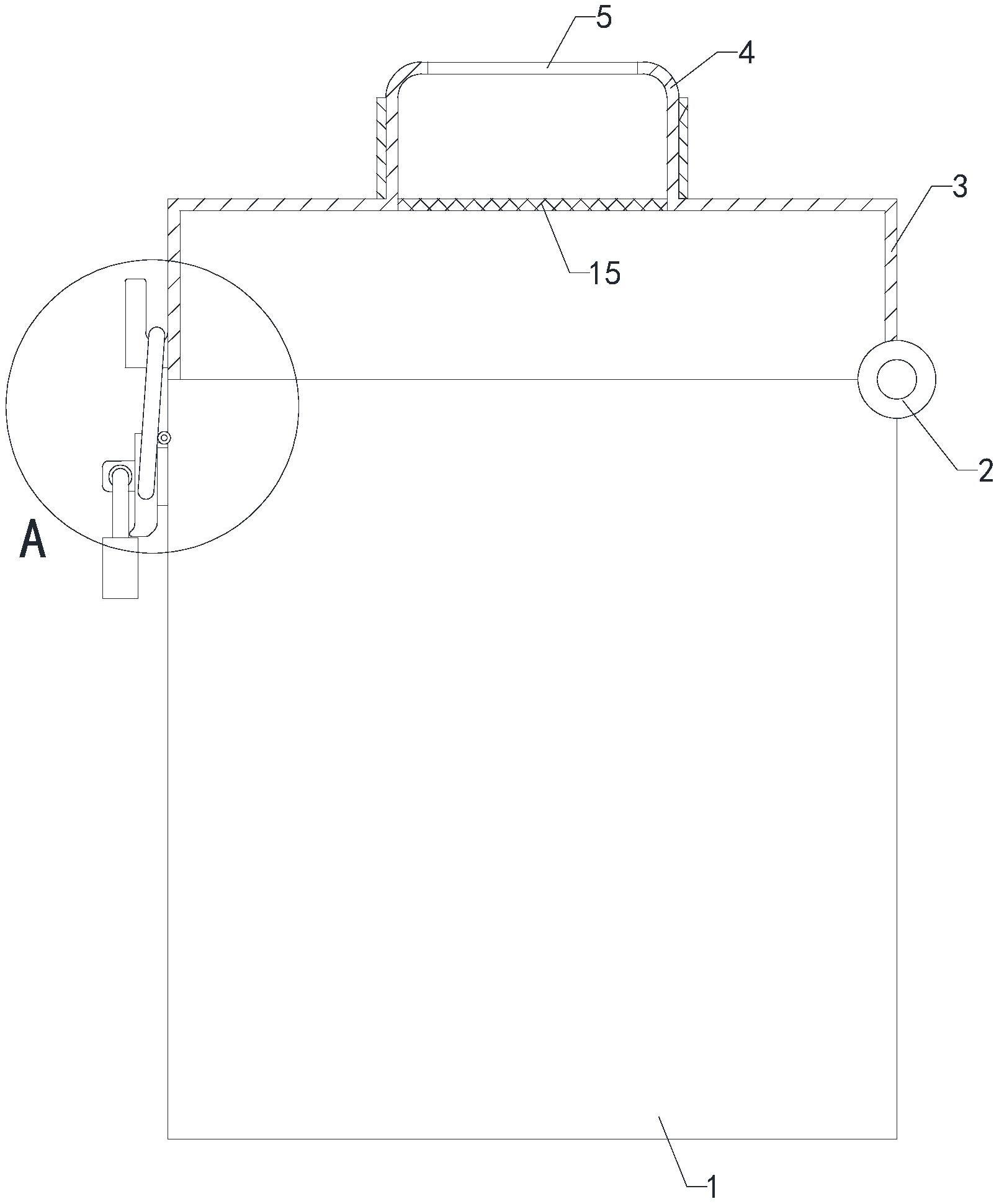
本实用新型涉及食品生产的技术领域,特别是涉及一种食品罐,其使食品罐变成存钱罐被重复利用,减少了垃圾生成,提高了环保性;包括罐体、第一连接件、盖子、连接盖、固定块、连接板、锁板、转动板、第二连接件、卡环和锁,罐体右部顶端通过第一连接件与盖子右部底端可转动连接,连接盖底端与盖子顶端连通,连接盖顶端设置有投币口,固定块右端与盖子左端连接,固定块右端设置有卡槽,连接板右端与罐体顶部左端连接,锁板右端与连接板左端连接,锁板上设置有锁孔,转动板顶部右端通过第二连接件与罐体可转动连接,并且第二连接件位于连接板上方,转动板上设置有方形孔,转动板前后两端均设置有孔。


