授权公布号:CN216321336U
一种TVOC清除剂生产用调配装置
有效
申请
2021-10-28
申请公布
1970-01-01
授权
2022-04-19
预估到期
2031-10-28
| 申请号 | CN202122607954.7 |
| 申请日 | 2021-10-28 |
| 授权公布号 | CN216321336U |
| 授权公告日 | 2022-04-19 |
| 分类号 | B01F27/90;B01F35/71;B01F27/805 |
| 分类 | 一般的物理或化学的方法或装置; |
| 申请人名称 | 福建永宏环保科技有限公司 |
| 申请人地址 | 福建省福州市仓山区建新镇红江路67号9号楼四层 |
专利法律状态
2022-04-19
授权
状态信息
授权
摘要
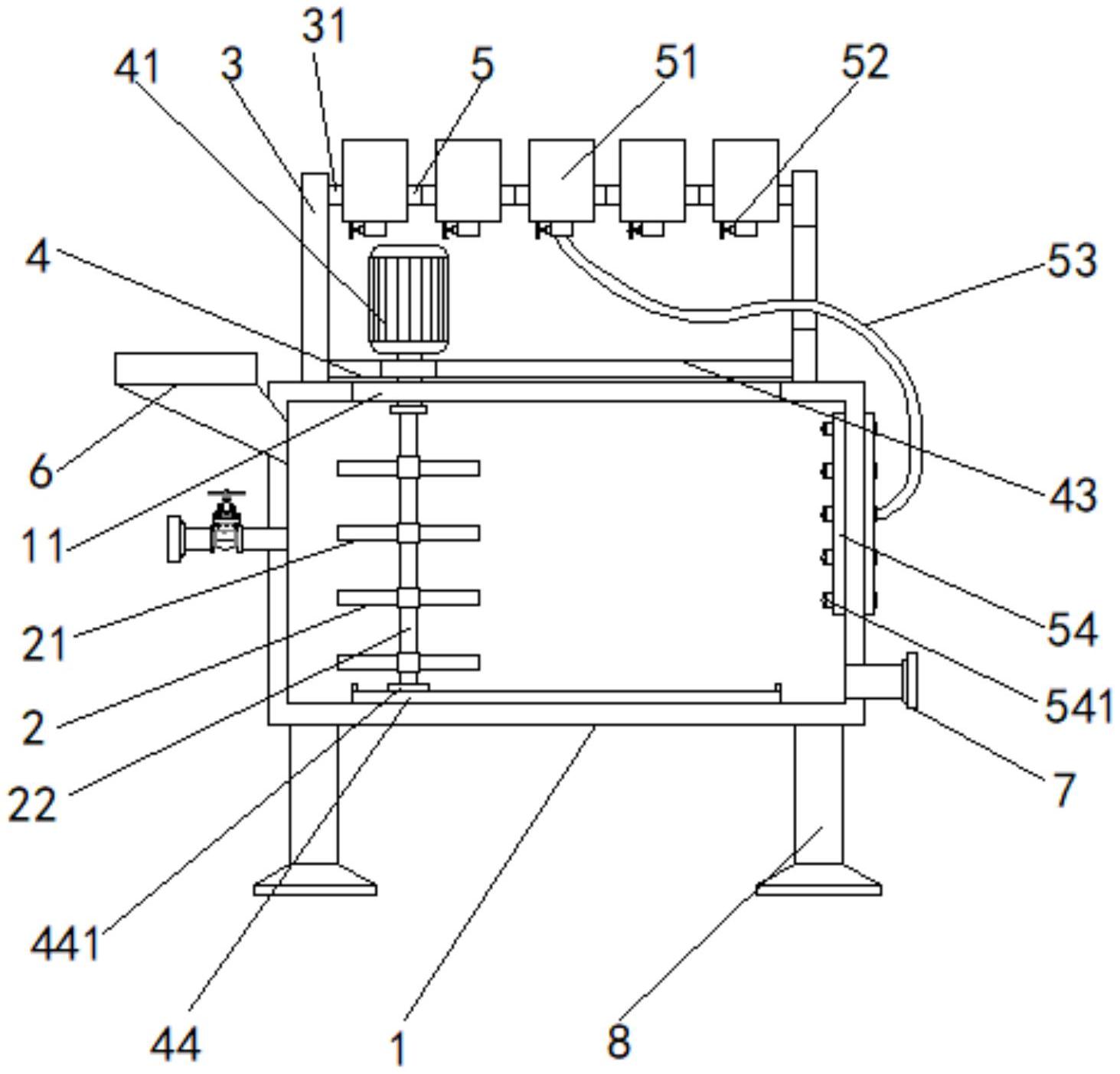
本实用新型涉及一种TVOC清除剂生产用调配装置,包括机体、组件和放置台,所述机体上设置有滑动机构,所述放置台上设置有进料机构,所述滑动机构包括固定安装于放置台上的电机,电机的输出轴的外部固定安装有齿轮,所述放置台上固定安装有与齿轮啮合的齿条,所述机体的底部固定连接有与机体活动连接的轨道,所述进料机构包括活动安装于放置台顶部的放料罐,放料罐的外部固定连接有控制阀和连通有送料管,送料管远离放料罐一端固定连接有进料板。该TVOC清除剂生产用调配装置,通过设置了滑动机构,使其使用者通过驱动电机带动齿轮与组件进行旋转,通过与齿条,使其啮合的电机带动组件在机体内部进行左右移动,使其搅拌范围变大。


