授权公布号:CN216321471U
一种苯胺清除剂的原料加载装置
有效
申请
2021-10-28
申请公布
1970-01-01
授权
2022-04-19
预估到期
2031-10-28
| 申请号 | CN202122607950.9 |
| 申请日 | 2021-10-28 |
| 授权公布号 | CN216321471U |
| 授权公告日 | 2022-04-19 |
| 分类号 | B01F29/60 |
| 分类 | 一般的物理或化学的方法或装置; |
| 申请人名称 | 福建永宏环保科技有限公司 |
| 申请人地址 | 福建省福州市仓山区建新镇红江路67号9号楼四层 |
专利法律状态
2022-04-19
授权
状态信息
授权
摘要
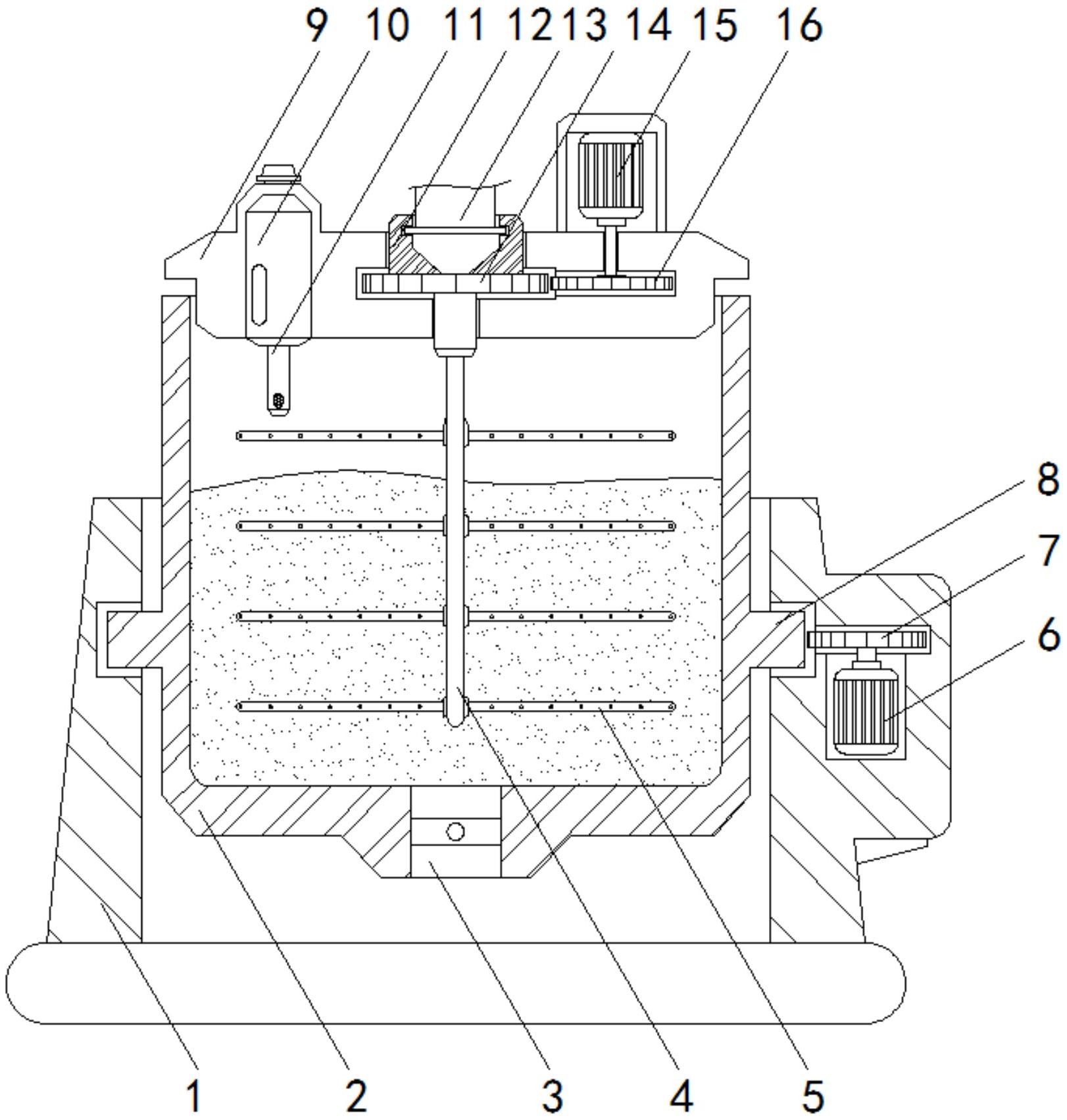
本实用新型涉及一种苯胺清除剂的原料加载装置,包括处理底座,所述处理底座的内部活动安装有混合箱,所述混合箱的顶部设置有密封盖,所述处理底座的内部设置有用于驱动混合箱转动的转动组件,所述密封盖内活动安装有延伸至混合箱内部的搅拌上料组件,所述密封盖上设置有用于驱动搅拌上料组件转动搅拌的驱动组件,所述密封盖的内部设置有用于取料的取料延伸组件。该苯胺清除剂的原料加载装置,在物料往混合箱的内部添加完成后,手动闭合密封盖,保证内部高压密封环境,处理底座的内部设置有用于驱动混合箱转动的转动组件,然后通过转动组件驱动带动混合箱进行转动,使内部的物料进行混合,密封盖内活动安装有延伸至混合箱内部的搅拌上料组件。


