授权公布号:CN216604811U
一种粗砂硅藻泥生产用调漆罐
有效
申请
2021-10-28
申请公布
1970-01-01
授权
2022-05-27
预估到期
2031-10-28
| 申请号 | CN202122607951.3 |
| 申请日 | 2021-10-28 |
| 授权公布号 | CN216604811U |
| 授权公告日 | 2022-05-27 |
| 分类号 | B01F27/091;B01F27/906;B01F35/12;B01F101/30N |
| 分类 | 一般的物理或化学的方法或装置; |
| 申请人名称 | 福建永宏环保科技有限公司 |
| 申请人地址 | 福建省福州市仓山区建新镇红江路67号9号楼四层 |
专利法律状态
2022-05-27
授权
状态信息
授权
摘要
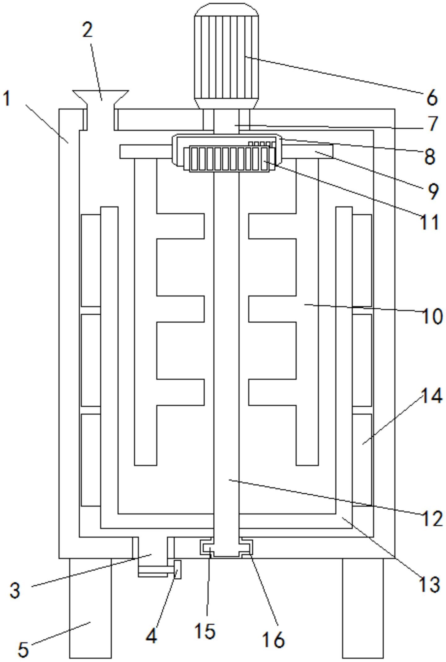
本实用新型涉及一种粗砂硅藻泥生产用调漆罐,包括罐体,所述罐体顶部开设有进料口,所述罐体底部开设有出料口,所述出料口内部活动连接有控制阀,所述罐体底部固定连接有支撑脚,所述罐体顶部固定连接有电机,所述电机底部活动连接有输出轴,所述罐体内部固定连接有传动装置,述传动装置包括有与输出轴底部固定连接的齿盘,所述齿盘外表面固定连接有连接杆,所述连接杆底部固定连接有搅拌杆,所述齿盘内部活动连接有齿轮,所述齿轮底部固定连接有转杆,所述转杆底部固定连接有凸块。该粗砂硅藻泥生产用调漆罐,可启动电机带动齿盘和搅拌杆转动,齿盘转动带动齿轮转动,从而带动活动杆和刮片对罐体内部进行挂动,防止内壁粘接,导致难以清洗。


