授权公布号:CN210847356U
一种蒸汽清洗装置设备
有效
申请
2019-07-26
申请公布
1970-01-01
授权
2020-06-26
预估到期
2029-07-26
| 申请号 | CN201921184607.4 |
| 申请日 | 2019-07-26 |
| 授权公布号 | CN210847356U |
| 授权公告日 | 2020-06-26 |
| 分类号 | B08B3/02;B08B13/00 |
| 分类 | 清洁; |
| 申请人名称 | 福建永宏环保科技有限公司 |
| 申请人地址 | 福建省福州市仓山区建新镇红江路67号9号楼四层 |
专利法律状态
2020-06-26
授权
状态信息
授权
摘要
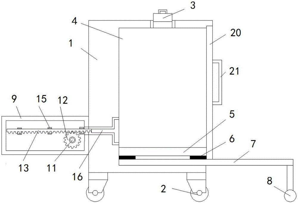
本实用新型涉及蒸汽清洗设备技术领域,且公开了一种蒸汽清洗装置设备,包括机体,所述机体底部的四角均固定连接有万向轮,所述机体的顶部活动连接有进料盖,所述机体的内腔活动连接有蒸汽筒,所述蒸汽筒底部固定连接有加热器,所述加热器底部的左右两侧均固定连接有滑块,所述滑块的底部滑动连接有一端贯穿并延伸至机体外部的滑板。该蒸汽清洗装置设备,通过进料口将液体灌入蒸汽筒的内部,再通过加热器对蒸汽筒的内部的液体进行加温,加温形成蒸汽之后,因为出水管与蒸汽筒是连通的,所以液体会流到出水管的内侧,再通过喷水枪喷出蒸汽与液体,对物体进行清洗,整体结构简单,方便使用,满足了实际使用的需求。


