授权公布号:CN210857383U
一种多功能按键清洗喷头
有效
申请
2019-07-26
申请公布
1970-01-01
授权
2020-06-26
预估到期
2029-07-26
| 申请号 | CN201921184616.3 |
| 申请日 | 2019-07-26 |
| 授权公布号 | CN210857383U |
| 授权公告日 | 2020-06-26 |
| 分类号 | E03C1/06 |
| 分类 | 给水;排水; |
| 申请人名称 | 福建永宏环保科技有限公司 |
| 申请人地址 | 福建省福州市仓山区建新镇红江路67号9号楼四层 |
专利法律状态
2020-06-26
授权
状态信息
授权
摘要
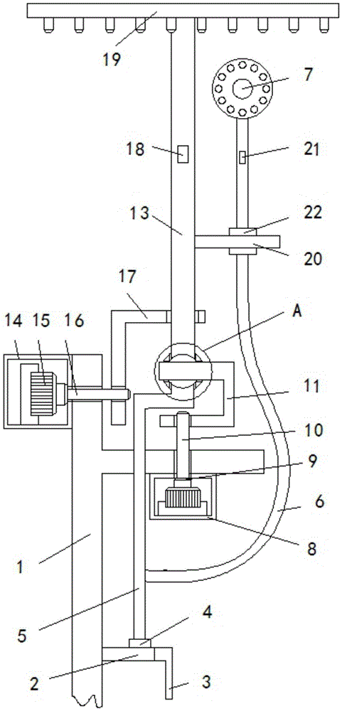
本实用新型涉及多功能清洗喷头技术领域,且公开了一种多功能按键清洗喷头,包括固定架,所述固定架的右侧固定连接有空心管,所述空心管的右侧活动连接有控制手柄,所述空心管的顶部连通有空心块,所述空心块的顶部连通有第一水管,所述第一水管的右侧连通有软管。该多功能按键清洗喷头,通过开启控制手柄将空心管内侧的水体放进第一水管当中,随后水体会流进空心滚珠,空心滚珠会将水体带进第二水管当中,通过开启淋浴按键,使得淋浴喷头喷水,实现了淋浴的目的,因为第一水管与软管是连通的,所以水体会流进软管当中,通过开启淋浴按键,使得洒水喷头喷水,实现了淋浴的目的,整体结构简单,方便使用,满足了实际使用的需求。


