授权公布号:CN216322779U
一种细砂硅藻泥壁板生产用硅藻泥涂覆装置
有效
申请
2021-11-09
申请公布
1970-01-01
授权
2022-04-19
预估到期
2031-11-09
| 申请号 | CN202122722825.2 |
| 申请日 | 2021-11-09 |
| 授权公布号 | CN216322779U |
| 授权公告日 | 2022-04-19 |
| 分类号 | B05B13/02;B05B14/40;B05B15/00;B05B9/04 |
| 分类 | 一般喷射或雾化;对表面涂覆液体或其他流体的一般方法〔2〕; |
| 申请人名称 | 福建永宏环保科技有限公司 |
| 申请人地址 | 福建省福州市仓山区建新镇红江路67号9号楼四层 |
专利法律状态
2022-04-19
授权
状态信息
授权
摘要
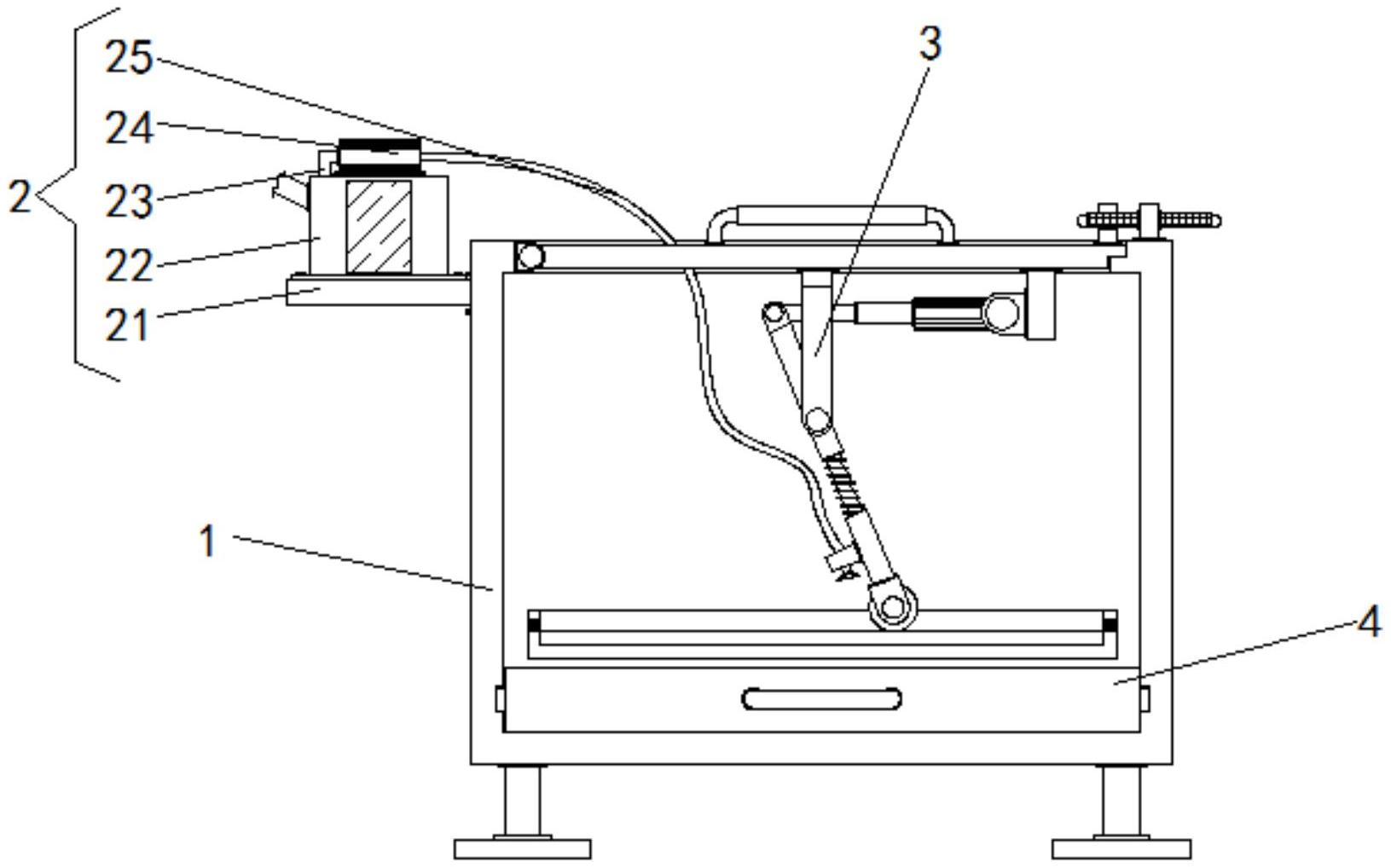
本实用新型涉及一种细砂硅藻泥壁板生产用硅藻泥涂覆装置,包括涂抹仓,所述涂抹仓的外侧固定安装有供料组件,所述涂抹仓的内侧固定安装有涂抹组件,所述涂抹仓的内侧壁活动连接有收集组件,所述涂抹仓的正面固定安装有推拉组件,所述涂抹组件包括一端与涂抹仓的内侧壁铰接的转动板,所述转动板的外侧铰接有电动推杆。该细砂硅藻泥壁板生产用硅藻泥涂覆装置,通过涂抹组件使操作人员将需要涂抹硅藻泥的硅藻泥壁板放置在涂抹仓内后,即可同时启动供料组件与涂抹组件,使涂抹组件来回移动,以及喷涂至硅藻泥壁板上的硅藻泥,来使硅藻泥被喷涂挤压得更为均匀,从而达到提高硅藻泥壁板使用效率的效果。


