授权公布号:CN216726287U
一种新型臭气处理设备
有效
申请
2021-11-09
申请公布
1970-01-01
授权
2022-06-14
预估到期
2031-11-09
| 申请号 | CN202122722847.9 |
| 申请日 | 2021-11-09 |
| 授权公布号 | CN216726287U |
| 授权公告日 | 2022-06-14 |
| 分类号 | B01D46/12 |
| 分类 | 一般的物理或化学的方法或装置; |
| 申请人名称 | 福建永宏环保科技有限公司 |
| 申请人地址 | 福建省福州市仓山区建新镇红江路67号9号楼四层 |
专利法律状态
2022-06-14
授权
状态信息
授权
摘要
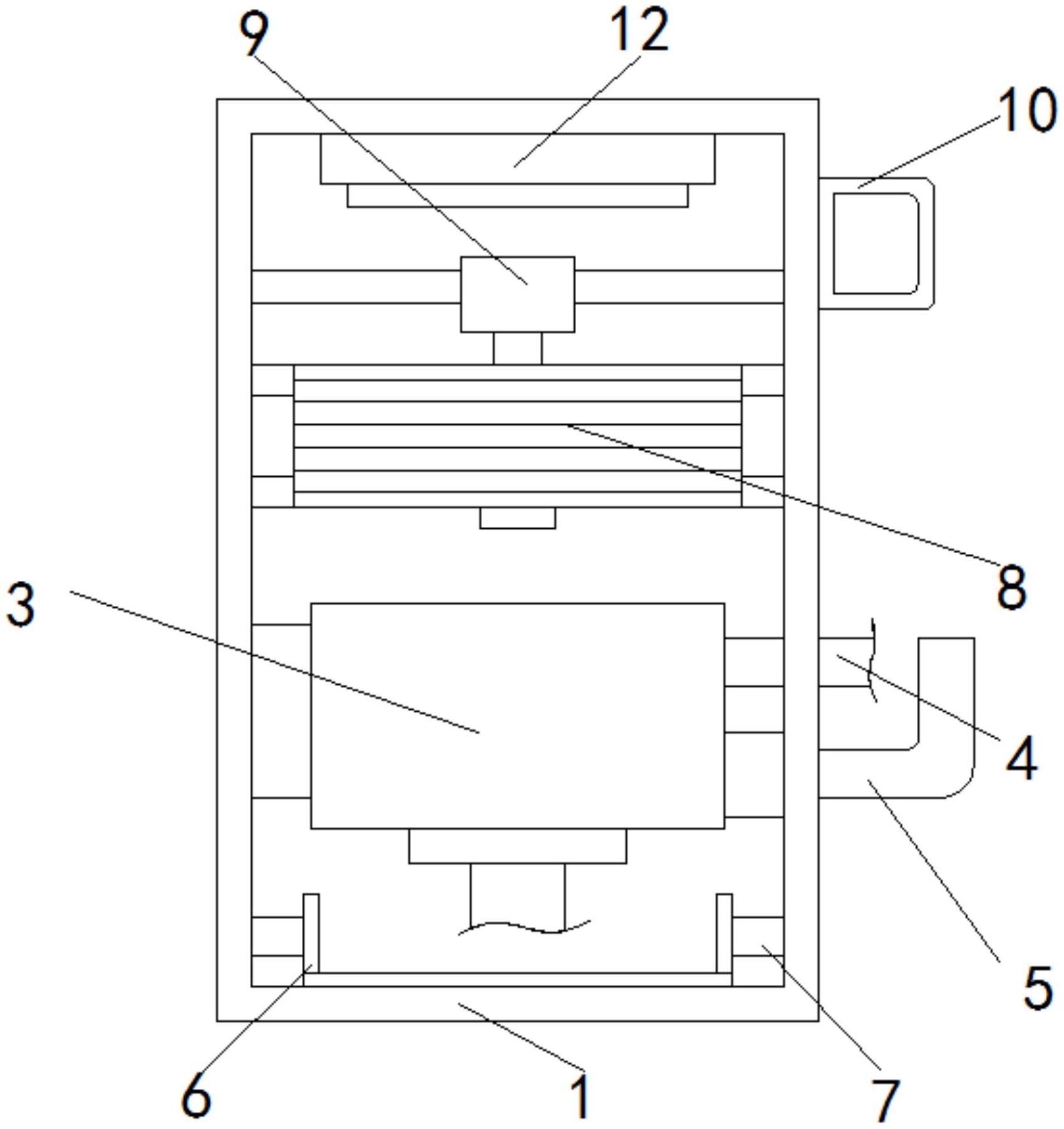
本实用新型涉及一种新型臭气处理设备,包括存储箱和转动控制门板,所述存储箱的内部设置有控制传输的初级过滤机构,所述存储箱的内部且位于初级过滤机构的顶部设置有次级过滤机构,所述检测箱呈方形箱状,所述检测箱的侧边开设有与通气管和进料管连通的连通孔。该新型臭气处理设备,通过设置存储箱和转动控制门板,从而可以保证存储箱内部物体的密封,又通过设置放置箱,在放置箱的内部灌入液体,从而可以快速的控制液体的传输,又通过设置过滤器和风力控制块,经过在过滤器的内部设置过滤垫,从而进行二次过滤,通过设置风力控制块,可以快速控制气体的传输,方便了使用者的使用。


