授权公布号:CN215422664U
一种食品加工生产用消毒装置
有效
申请
2021-08-20
申请公布
1970-01-01
授权
2022-01-07
预估到期
2031-08-20
| 申请号 | CN202121964229.9 |
| 申请日 | 2021-08-20 |
| 授权公布号 | CN215422664U |
| 授权公告日 | 2022-01-07 |
| 分类号 | A23L5/20;B65G47/248;B65G15/00 |
| 分类 | 其他类不包含的食品或食料;及其处理; |
| 申请人名称 | 浙江万隆肉类制品有限公司 |
| 申请人地址 | 浙江省湖州市吴兴区道场乡富业路186号 |
专利法律状态
2022-01-07
授权
状态信息
授权
摘要
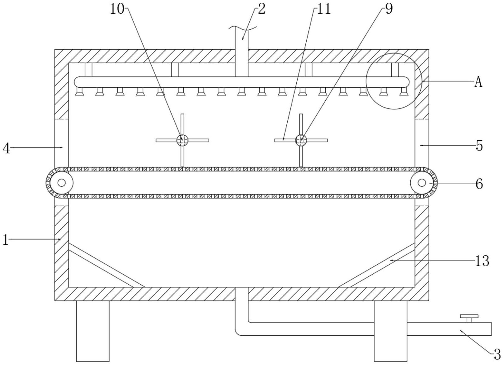
本实用新型涉及食品加工技术领域,且公开了一种食品加工生产用消毒装置,包括消毒箱,所述消毒箱的底端固定连接有排液管,所述消毒箱内腔的顶部设置有消毒机构;所述消毒机构包括进液管、分流管和多个喷头,所述进液管固定穿插连接在消毒箱顶端的中部;所述消毒箱的一侧开设有进料口,所述消毒箱的另一侧开设有出料口,所述消毒箱内腔的中部固定有传送带,所述消毒箱内腔位于传送带的顶端设置有辅助机构。该食品加工生产用消毒装置,通过消毒箱和消毒机构的设计,在操作者将消毒的食品持续传送至消毒箱内的传送带上后,在传送带以及消毒机构的运行下以实现食品的消毒工作,操作简单,提高了本装置的实用性。


