授权公布号:CN113712795B
多功能按摩健身器具
有效
申请
2021-08-11
申请公布
2021-11-30
授权
2023-12-01
预估到期
2041-08-11
| 申请号 | CN202110919039.3 |
| 申请日 | 2021-08-11 |
| 申请公布号 | CN113712795A |
| 申请公布日 | 2021-11-30 |
| 授权公布号 | CN113712795B |
| 授权公告日 | 2023-12-01 |
| 分类号 | A61H15/00 |
| 分类 | 医学或兽医学;卫生学; |
| 申请人名称 | 浙江豪中豪健康产品有限公司 |
| 申请人地址 | 浙江省温州市平阳县万全轻工基地家具园兴隆路18号 |
专利法律状态
2023-12-01
授权
状态信息
授权
2021-12-17
实质审查的生效
状态信息
实质审查的生效;IPC(主分类):A61H15/00;申请日:20210811
2021-11-30
公布
状态信息
公布
摘要
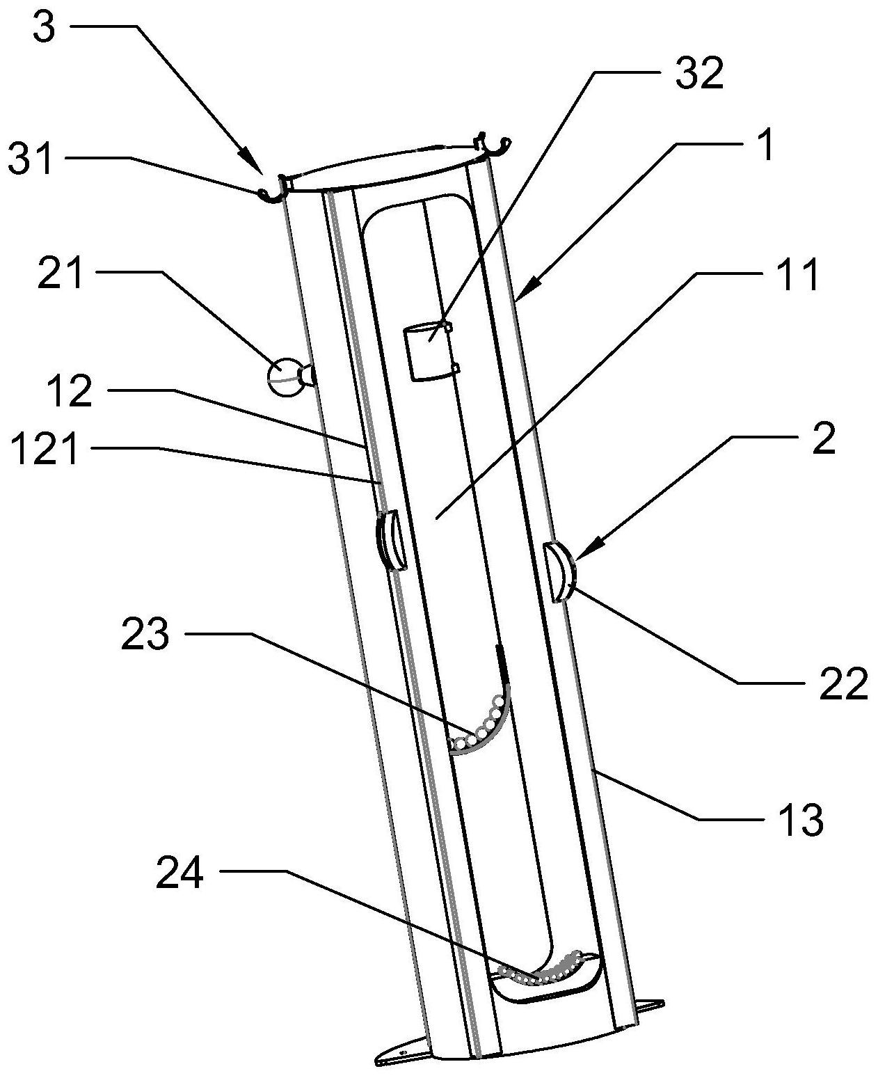
本发明提供了一种多功能按摩健身器具,包括有柱体,所述的柱体上设置有通槽、按摩组件以及置物组件,所述的通槽贯通柱体的前后两侧设置,且通槽两端延伸至靠近柱体的上下两端处,所述的按摩组件包括有肩部按摩件、腰部按摩件、腿部按摩件以及脚底按摩件,所述的肩部按摩件和腰部按摩件分别设置柱体前后两侧处,所述的腿部按摩件和脚底按摩件分别设置在通槽靠近前后两端处,所述的置物组件包括有挂钩和杯套,所述的挂钩设置在柱体的上端处,所述的杯套设置在通槽中。


