授权公布号:CN219127284U
一种按摩平睡两用枕
有效
申请
2022-12-06
申请公布
1970-01-01
授权
2023-06-06
预估到期
2032-12-06
| 申请号 | CN202223309531.8 |
| 申请日 | 2022-12-06 |
| 授权公布号 | CN219127284U |
| 授权公告日 | 2023-06-06 |
| 分类号 | A61H7/00;A47G9/10 |
| 分类 | 医学或兽医学;卫生学; |
| 申请人名称 | 浙江豪中豪健康产品有限公司 |
| 申请人地址 | 浙江省温州市平阳县万全轻工基地家具园兴隆路18号 |
专利法律状态
2023-06-06
授权
状态信息
授权
摘要
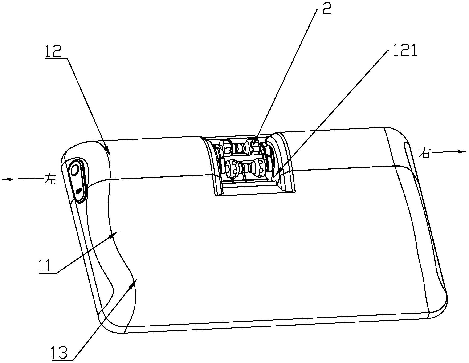
本实用新型涉及一种按摩平睡两用枕,包括枕头本体以及包覆在枕头本体外的外套,所述的枕头本体中间形成可供头部放置的凹槽,所述的枕头本体在凹槽的前侧设置有上凸的第一颈支撑部,所述的枕头本体在凹槽的后侧设置有上凸的第二颈支撑部,第一颈支撑部内设置有空腔,还包括有放置于空腔的按摩机构,按摩机构包括电机和按摩轮,电机固定设置在枕头本体上,按摩轮沿第一颈支撑部的长方向转动设置在枕头本体上,电机带动按摩轮转动,按摩轮对与其接触的颈部进行旋转按摩动作。通过采用上述方案,本实用新型克服现有技术存在的不足,提供了一种按摩平睡两用枕,其不仅可用于颈部按摩放松,还能作为普通枕头使用。


