授权公布号:CN219273760U
陶瓷板分级线的对色装置及陶瓷大板分级生产线
有效
申请
2022-11-21
申请公布
1970-01-01
授权
2023-06-30
预估到期
2032-11-21
| 申请号 | CN202223076959.2 |
| 申请日 | 2022-11-21 |
| 授权公布号 | CN219273760U |
| 授权公告日 | 2023-06-30 |
| 分类号 | B07C5/342;B07C5/36;B65B57/10;B65B35/44 |
| 分类 | 将固体从固体中分离;分选; |
| 申请人名称 | 蒙娜丽莎集团股份有限公司 |
| 申请人地址 | 广东省佛山市南海区西樵轻纺城工业园 |
专利法律状态
2023-06-30
授权
状态信息
授权
摘要
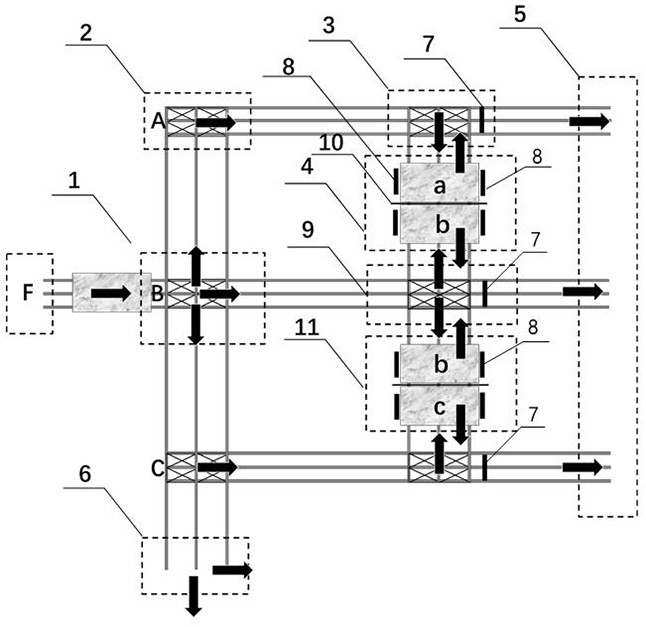
本实用新型公开了一种陶瓷板分级线的对色装置及陶瓷大板分级生产线,陶瓷板分级线的对色装置包括:分级区与打包区,在所述分级区与所述打包区之间设有至少一拼接对色区;所述拼接对色区包括中转装置与运送装置,所述中转装置通过所述运送装置将不同编号的陶瓷板输送至不同的传送线,所述传送线至少包括两条,两条所述传送线之间设有所述对色区,所述对色区的两侧分别设有将两条所述传送线上的陶瓷板转向至该对色区的定位转向装置,所述对色区设有用以隔离两块陶瓷板的隔离板。本实用新型可以自动拼砖检验连纹效果及改善对色条件的分级传送线路,减少人工抬砖,可以避免拼贴磕碰造成瓷砖缺陷,提高了抽查比例。


