授权公布号:CN220472581U
亮光面瓷砖镜面平整度的检测装置
有效
申请
2023-06-02
申请公布
1970-01-01
授权
2024-02-09
预估到期
2033-06-02
| 申请号 | CN202321390802.9 |
| 申请日 | 2023-06-02 |
| 授权公布号 | CN220472581U |
| 授权公告日 | 2024-02-09 |
| 分类号 | G01B11/30 |
| 分类 | 测量;测试; |
| 申请人名称 | 蒙娜丽莎集团股份有限公司 |
| 申请人地址 | 广东省佛山市南海区西樵轻纺城工业园 |
专利法律状态
2024-02-09
授权
状态信息
授权
摘要
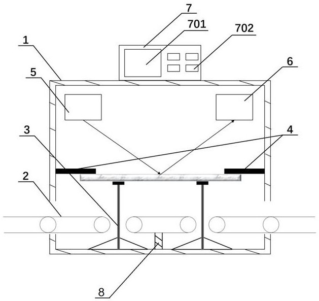
本实用新型涉及一种亮光面瓷砖镜面平整度的检测装置,包括壳体、支撑单元和图像检测单元;所述壳体的内部设有光源发生器、摄像设备和至少一对水平挡片,所述水平挡片分别对称设置在所述壳体的左右两侧且所述水平挡片的一端与所述壳体的内壁固定连接;所述支撑单元用于带动瓷砖移动至与所述水平挡片的下表面接触,并与所述壳体、所述水平挡片形成检测暗室;所述光源发生器与所述摄像设备位于所述水平挡片的上方,所述光源发生器发出的激光光源经所述瓷砖反射,被所述摄像设备获取并传送至所述图像检测单元。本实用新型通过设置不同类型的支撑单元,可以提高瓷砖检测的适配性,方便检测。


