授权公布号:CN218150565U
一种铝合金型材角码
有效
申请
2022-09-15
申请公布
1970-01-01
授权
2022-12-27
预估到期
2032-09-15
| 申请号 | CN202222434082.3 |
| 申请日 | 2022-09-15 |
| 授权公布号 | CN218150565U |
| 授权公告日 | 2022-12-27 |
| 分类号 | E06B3/964 |
| 分类 | 一般门、窗、百叶窗或卷辊遮帘;梯子; |
| 申请人名称 | 步阳集团有限公司 |
| 申请人地址 | 浙江省金华市永康市西城街道汤店山工业区 |
专利法律状态
2022-12-27
授权
状态信息
授权
摘要
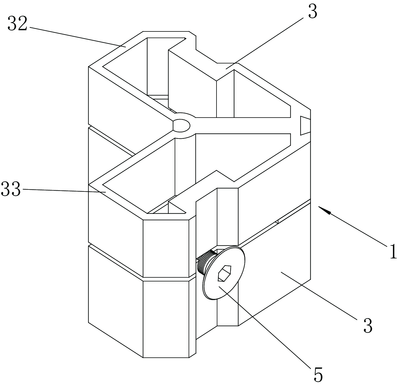
本实用新型公开了一种铝合金型材角码。包括角码型材主体,角码型材主体包括有至少两个角码型材单元及用于将相邻的两个角码型材单元组装成一体的角码连接件;至少一个角码型材单元上具有与紧固件相适配的安装位,至少一个角码型材单元上具有与紧固件相配合的倾斜壁,当紧固件逐步往角码型材单元内侧方向动作时,依靠倾斜壁促使对应的角码型材单元逐步外扩以使角码型材主体与门架型材之间越锁越紧。本实用新型采用双层角码型材设计,通过角码连接件初步连接,主体部分塞入型材后,转紧紧固件时,角码型材不断在门架型材内部胀开,从而将门架型材越锁越紧,该结构可将门架斗角微调,微调后角度更为精准,整体结构简单,安装、拆卸方便,牢固美观。


