授权公布号:CN114449799B
一种双模通信蓝牙装置
有效
申请
2021-12-23
申请公布
2022-05-06
授权
2024-01-02
预估到期
2041-12-23
| 申请号 | CN202111591643.4 |
| 申请日 | 2021-12-23 |
| 申请公布号 | CN114449799A |
| 申请公布日 | 2022-05-06 |
| 授权公布号 | CN114449799B |
| 授权公告日 | 2024-01-02 |
| 分类号 | H05K5/02;H01R13/52;F16F15/067;H04W4/80;H04W88/06 |
| 分类 | 其他类目不包含的电技术; |
| 申请人名称 | 松研科技(杭州)有限公司 |
| 申请人地址 | 浙江省杭州市萧山区南阳街道南虹路横蓬村 |
专利法律状态
2024-01-02
授权
状态信息
授权
2022-05-24
实质审查的生效
状态信息
实质审查的生效;IPC(主分类):H05K5/02;申请日:20211223
2022-05-06
公布
状态信息
公布
摘要
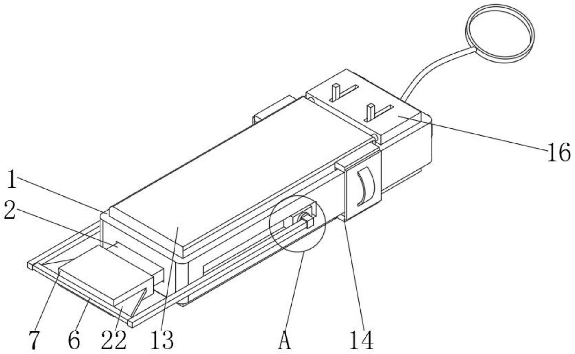
本发明公开了一种双模通信蓝牙装置,包括U盘,固定连接在U盘正面的连接器,所述U盘的两侧均滑动连接有滑块,所述滑块的外侧通过转轴活动连接有活动块,所述活动块的正面固定连接有连接杆,所述连接杆内侧的前侧固定连接有横板,所述横板的背面固定连接有套框,所述套框的背面套接在连接器的表面,所述U盘背面的两侧均固定连接有固定板。本发明达到可以对接口进行防护的效果,该双模通信蓝牙装置,解决了现有的蓝牙传输U盘其接口都是暴露在外的,而长时间暴露在外空气中的灰尘就会通过接口进入到U盘内部,使U盘内部的电子元气件出现损坏现象,影响了蓝牙传输U盘使用寿命的问题。


