授权公布号:CN209439634U
轴流式风机叶轮焊接工装
有效
申请
2019-08-23
申请公布
1970-01-01
授权
2019-09-27
预估到期
2029-08-23
| 申请号 | CN201920109522.3 |
| 申请日 | 2019-08-23 |
| 授权公布号 | CN209439634U |
| 授权公告日 | 2019-09-27 |
| 分类号 | B23K31/02;B23K37/00 |
| 分类 | 机床;不包含在其他类目中的金属加工; |
| 申请人名称 | 山东中南科莱空调设备有限公司 |
| 申请人地址 | 山东省德州市武城县鲁权屯滕庄开发区 |
专利法律状态
2019-09-27
授权
状态信息
授权
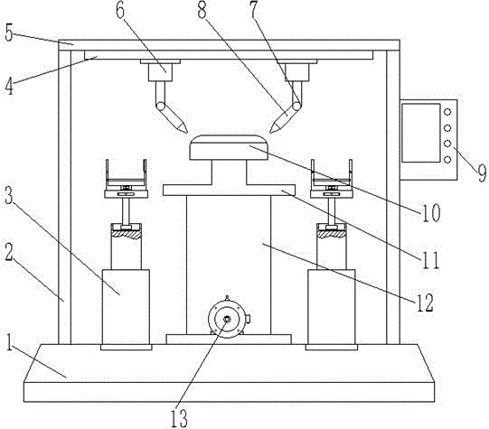
摘要
本实用新型公开了轴流式风机叶轮焊接工装,所述底座上方两端分别固定设置有侧板,且两个侧板上方固定连接上板,所述底座上方中间螺栓固定连接安装底板,且安装底板上方螺栓固定支撑柱,所述支撑柱的一侧设置有电机,且电机螺栓固定在安装底板上,所述支撑柱上方螺栓固定连接圆板,所述连接圆板上端焊接连接柱,且连接柱上端固定安装连接轮毂,所述轮毂周围设置有六个叶片固定装置,所述叶片固定装置包括滑块、移动杆、第二安装板、夹装座、上夹杆和活动下夹杆,所述滑块上端焊接连接移动杆,通过多个上焊接装置和下焊接装置同时对叶片进行焊接,不仅焊接准确快速,还能够有效保证每个叶片相对于轮毂的焊接角度和高度相同且在轮毂上均等分布。


