授权公布号:CN212119134U
一种可精准计量液体流量的滤瓶装置
有效
申请
2020-04-17
申请公布
1970-01-01
授权
2020-12-11
预估到期
2030-04-17
| 申请号 | CN202020576565.5 |
| 申请日 | 2020-04-17 |
| 授权公布号 | CN212119134U |
| 授权公告日 | 2020-12-11 |
| 分类号 | B01D24/10 |
| 分类 | 一般的物理或化学的方法或装置; |
| 申请人名称 | 阿里斯顿热能产品(中国)有限公司 |
| 申请人地址 | 江苏省无锡市新加坡工业园行创一路9号 |
专利法律状态
2020-12-11
授权
状态信息
授权
摘要
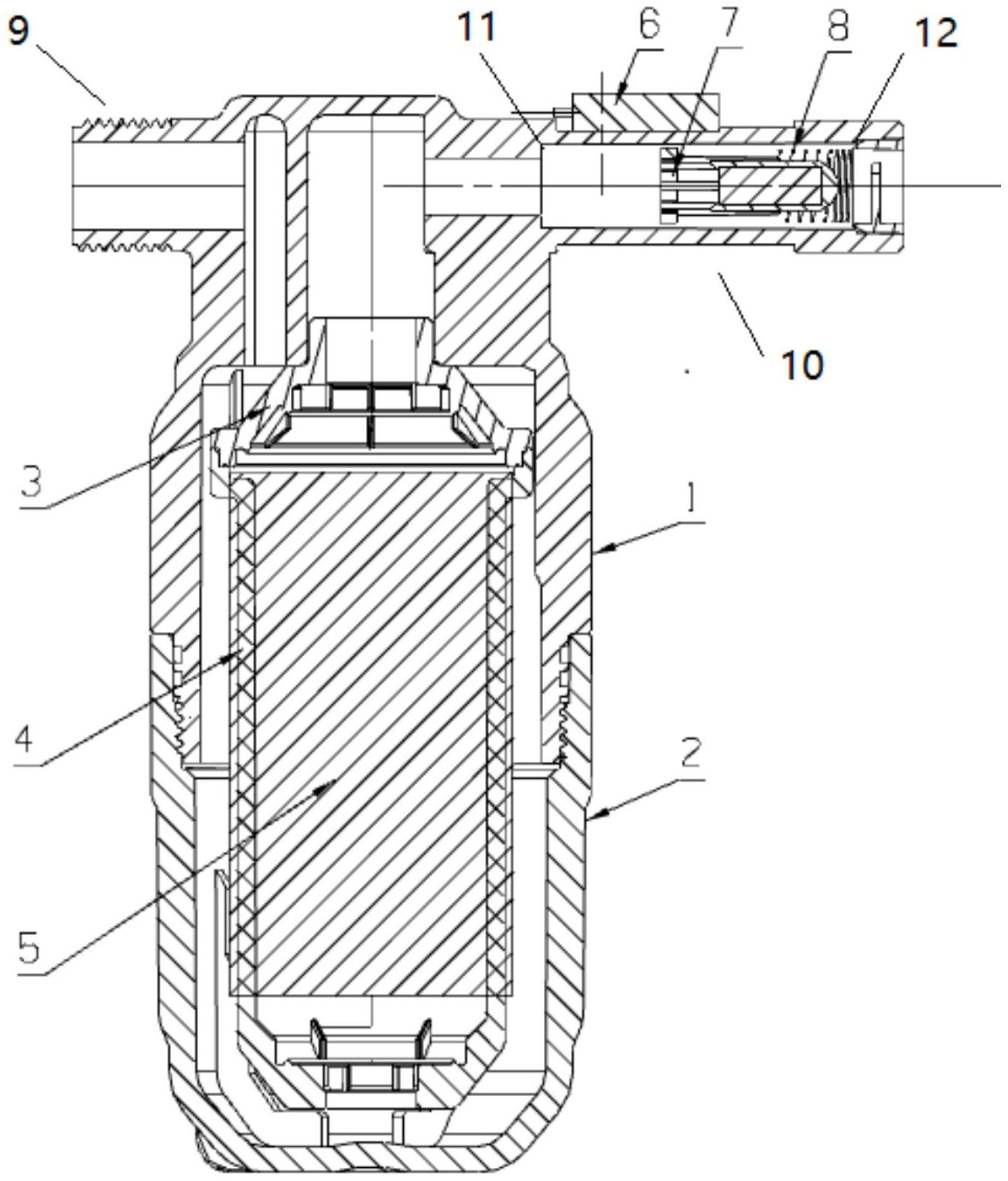
本实用新型涉及一种可精准计量液体流量的滤瓶装置,包括滤瓶组件和滤芯组件;所述滤瓶组件包括滤瓶上盖和滤瓶下盖,滤瓶上盖的上部包括位于一侧的进液端和另一侧的出液端;所述滤芯组件设置在滤瓶组件内,包括滤芯上盖、滤芯下盖4和填充物;所述出液端设置流量计组件,所述流量计组件包括干簧片、磁石和弹簧;所述出液端外固定设置干簧片,所述出液端内滑动设置磁石,磁石移位时能够控制干簧片的开闭;所述出液端内固定设置用以使磁石复位的弹簧。本实用新型能精确计算出用户实际用水量,并能根据滤芯的实际使用状况提示用户及时更换,避免由于未能及时更换滤芯而造成的不必要的的损失。


